Curiosii for ever!: Car repair manuals for everyone.

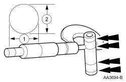
Piston Pin Diameter




Piston Pin Diameter

General Procedure

NOTE: Refer to general specifications in the appropriate engine for the appropriate specification.

1. Measure the piston pin diameter in 2 directions at the points shown. Verify the diameter is within specification.