Curiosii for ever!
: Car repair manuals for everyone.
Home
>>
Ford Truck
>>
2010
>>
Transit Connect L4-2.0L
>>
Repair and Diagnosis
>>
Windows and Glass
>>
Windows
>>
Power Window Switch
>>
Testing and Inspection
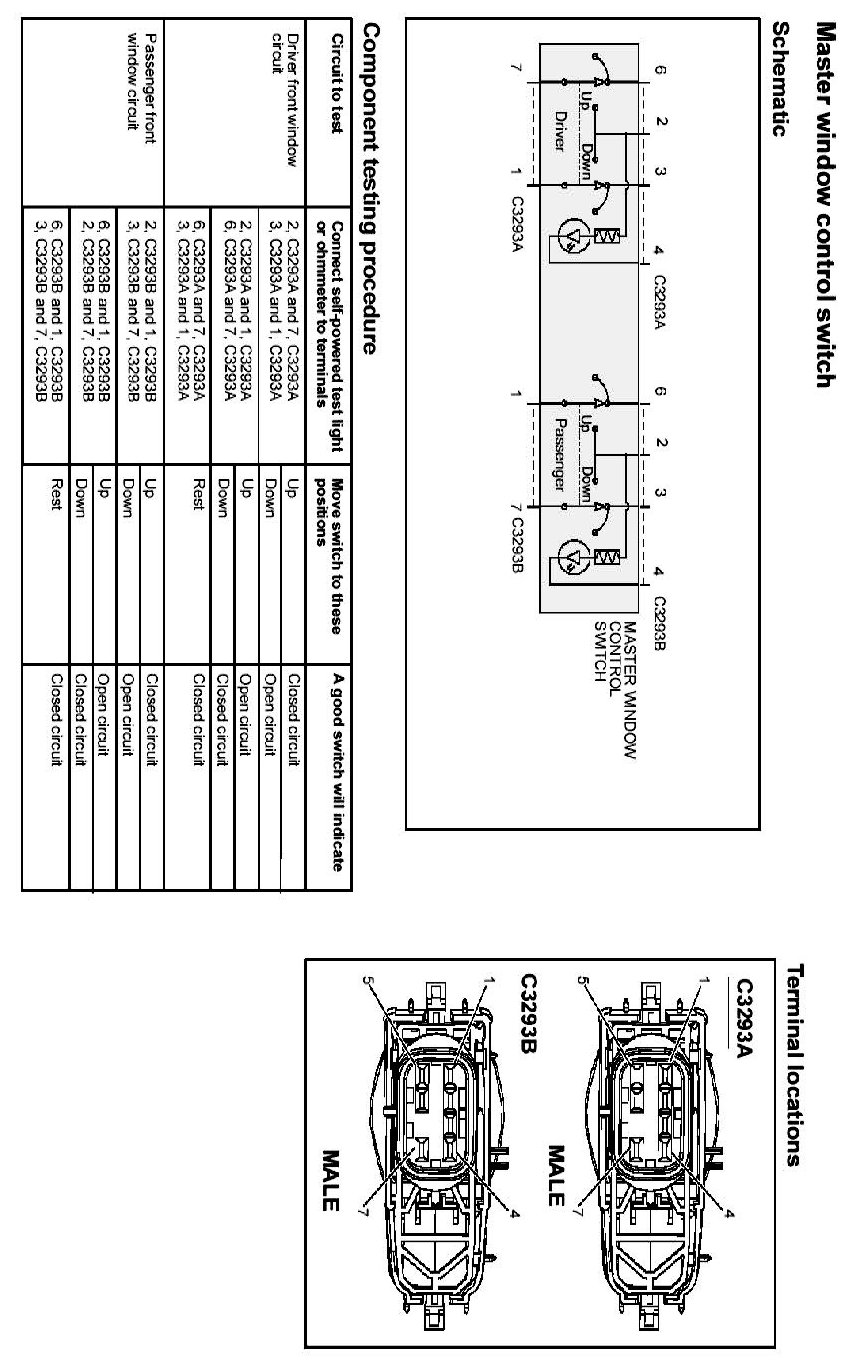
Power Window Switch: Testing and Inspection