Curiosii for ever!: Car repair manuals for everyone.

Expansion Block/Orifice Tube: Service and Repair




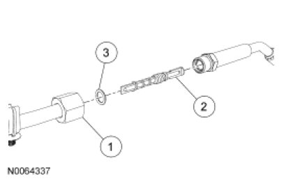
Evaporator Core Orifice

















Removal

1. Recover the refrigerant.

2. Disconnect the evaporator core orifice access fitting.
- Discard the O-ring seal.

3. Inspect the evaporator core orifice for damage before attempting to remove it from the line.

4. If the evaporator core orifice is intact, engage the Fixed Orifice Remover/Installer. Hold the T-handle stationary while rotating the tool body to remove the evaporator core orifice.





5. If the evaporator core orifice is broken, screw the end of the Broken Orifice Remover into the broken orifice. Hold the T-handle stationary while rotating the tool body to remove the evaporator core orifice.





Installation

1. Lubricate the evaporator core orifice O-ring seals in clean PAG oil and install the evaporator core orifice using the Fixed Orifice Remover/Installer.





2. Connect the evaporator core orifice access fitting.
- Install a new O-ring seal.

3. Add the correct amount of clean PAG oil to the refrigerant system.

4. Evacuate, leak test and charge the refrigerant system.