Cruise Control Servo: Service and Repair
Cruise Control Actuator
Removal and Installation
1. Disconnect the cruise control actuator electrical connector.
2. Remove the cruise control cable cap from the cruise control actuator.
- Push in the locking arm on the cruise control cable cap and rotate the cap counterclockwise.
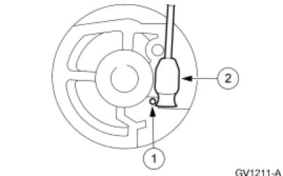
3. Remove the cruise control cable.
1. Press the spring retainer.
2. Slide the core wire end out of the cruise control actuator pulley and remove the cruise control cable.
4. Remove the bolt and the cruise control actuator and bracket assembly.
- To install, tighten to 11 Nm (97 lb-in).
5. Remove the 3 bolts and separate the cruise control actuator bracket from the cruise control actuator.
- To install, tighten to 9 Nm (80 lb-in).
6. NOTE: Make sure the rubber seal is fully seated onto the cruise control cable cap.
To install, reverse the removal procedure.