Curiosii for ever!: Car repair manuals for everyone.

Compressor Clutch: Service and Repair




Clutch and Clutch Field Coil













Removal

All vehicles

1. Remove the A/C compressor. For additional information, refer to Air Conditioning (A/C) Compressor - 4.0L SOHC Service and Repair or Air Conditioning (A/C) Compressor - 4.6L Service and Repair.

2. Remove the A/C clutch disc and hub bolt.

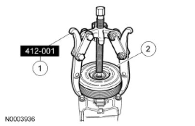
1. Hold the A/C clutch disc and hub with the Compressor Clutch Disc and Hub Holding Fixture.

2. Remove the A/C clutch disc and hub bolt.





3. Remove the A/C clutch disc and hub.

4. Remove the A/C compressor pulley snap ring.

5. Remove the A/C compressor pulley.

1. Install the Compressor Pulley Remover

2. Remove the A/C compressor pulley.





FS18 compressors only

6. NOTICE: Do not use air tools. The Air Conditioning (A/C) clutch field coil can be easily damaged.

Remove the A/C clutch field coil.

1. Install the Field Coil Remover.

2. Install the Compressor Pulley Remover.

3. Remove the A/C clutch field coil.





FS20 compressors only

7. Remove the A/C clutch field coil snap ring.

8. Remove the A/C clutch field coil electrical connector screw.

9. Remove the A/C clutch field coil.

Installation

NOTE: If installing a new A/C compressor, the A/C clutch components should be reused unless obvious signs of damage are found. If excessive grooving is found, a new A/C clutch disc and hub and A/C compressor pulley must be installed together. Otherwise, each component can be installed individually where needed.

All vehicles

1. Visually inspect the A/C clutch disc and hub, A/C compressor pulley and A/C clutch field coil for damage.
- Inspect for physical damage, including cracked or melted components or discoloration due to excessive heat.

- Inspect for excessive wear, including grooving in the A/C clutch disc and hub or A/C compressor pulley that is more than fingernail depth.

- Inspect for roughness in the A/C compressor pulley bearing.

2. Clean the A/C clutch field coil and pulley mounting surfaces.

FS18 compressors only

3. NOTICE: Do not use air tools. The Air Conditioning (A/C) clutch field coil can be easily damaged.

Install the A/C clutch field coil.

1. Place the A/C clutch field coil on the A/C compressor with the A/C clutch field coil electrical connector correctly positioned.

2. Place the Field Coil Replacer on the A/C clutch field coil.

3. Place the Coil Replacer 412-065 on the Field Coil Replacer 412-078.

4. Use the Compressor Pulley Remover to install the A/C clutch field coil.





FS20 compressors only

4. Install the A/C clutch field coil.

5. Install the A/C clutch field coil electrical connector screw.

6. Install the A/C clutch field coil snap ring.

All vehicles

7. NOTE: The A/C clutch pulley is a tight fit on the A/C compressor head. It must be correctly aligned during installation.

Install the A/C clutch pulley.

8. Install the A/C clutch pulley snap ring with the bevel side out.

9. Place one nominal thickness A/C clutch disc and hub spacer inside the clutch hub spline opening.

10. Install the A/C clutch disc and hub assembly.

11. Install the A/C clutch disc and hub bolt.

1. Hold the A/C clutch disc and hub with the Compressor Clutch Disc and Hub Holding Fixture.

2. Install the A/C clutch disc and hub bolt.

- Tighten to 14 Nm (124 lb-in).





12. Measure and adjust the clutch air gap by removing or adding A/C clutch hub spacers.

13. Install the A/C compressor. For additional information, refer to Air Conditioning (A/C) Compressor - 4.0L SOHC Service and Repair or Air Conditioning (A/C) Compressor - 4.6L Service and Repair.