Curiosii for ever!
: Car repair manuals for everyone.
Home
>>
Ford Truck
>>
2009
>>
Escape 2WD V6-3.0L
>>
Repair and Diagnosis
>>
Specifications
>>
Mechanical Specifications
>>
Engine
>>
Timing Components
>>
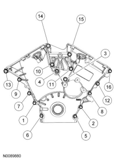
Timing Cover
Timing Cover
Position the front cover and install the bolts and stud bolts.
Tighten in the sequence shown
to 25 Nm (18 lb-ft).