Curiosii for ever!: Car repair manuals for everyone.

Traction Control Switch: Service and Repair




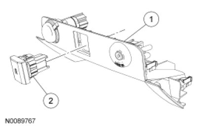
Stability/Traction Control Switch

Removal and Installation









1. Remove the lower Instrument Cluster (IC) center finish panel.

2. Depress the 2 tabs and remove the stability/traction control switch assembly.





3. To install, reverse the removal procedure.