Curiosii for ever!: Car repair manuals for everyone.

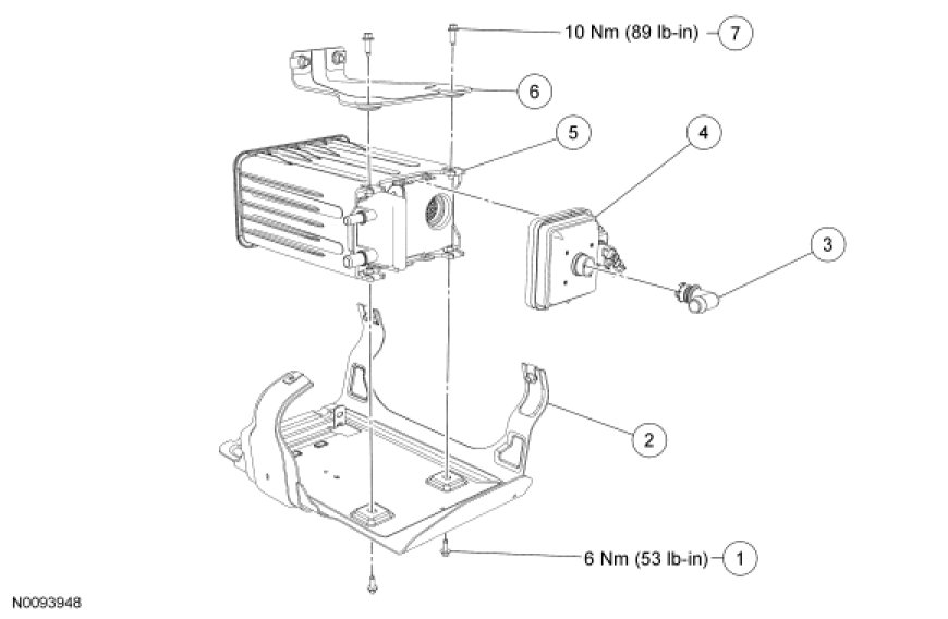
Evaporative Emission (EVAP) System Components - Exploded View




Evaporative Emission (EVAP) System Components - Exploded View



Aft-of-Axle Fuel Tank Evaporative Emission (EVAP) Canister Assembly Removal

NOTE: Vehicle body removed from art for clarity.












Aft-of-Axle Fuel Tank Evaporative Emission (EVAP) Canister, Bracket, Vent Solenoid and Dust Separator Assembly and Tube











Midship Fuel Tank Evaporative Emission (EVAP) Canister Assembly Removal - Regular Frame

NOTE: Vehicle body removed from art for clarity.












Midship Fuel Tank Evaporative Emission (EVAP) Canister Assembly Removal - Extended Frame

NOTE: Vehicle body removed from art for clarity.












Midship Fuel Tank Evaporative Emission (EVAP) Canister, Vent Solenoid and Dust Separator Assembly and Tube









1. For additional information, refer to procedures.