Curiosii for ever!: Car repair manuals for everyone.

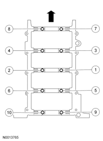
Main Bearing Cap

Tighten the 9 vertical main bearing cap bolts and the stud bolts in the sequence shown, in 2 stages.





Stage 1: Tighten to 40 Nm (30 lb-ft).
Stage 2: Tighten an additional 90 degrees.

Tighten the 10 crankshaft main bearing jackscrews against the cylinder blocks in the sequence shown in 2 stages.





Stage 1: Tighten to 5 Nm (44 lb-in).
Stage 2: Tighten to 10 Nm (89 lb-in).

Tighten the 10 side bolts and tighten them in the sequence shown.





Tighten to 21 Nm (15 lb-ft)