Curiosii for ever!: Car repair manuals for everyone.

Torque Specifications

Torque Specifications

Torque Specifications (Part 1):




Torque Specifications (Part 2):




Torque Specifications (Part 3):




Torque Specifications (Part 4):




Torque Specifications (Part 5):





Cylinder Head Bolts

CAUTION: The cylinder head bolts must be discarded and new bolts installed. They are tighten-to-yield designed and cannot be reused. Failure to follow these instructions may result in engine damage.

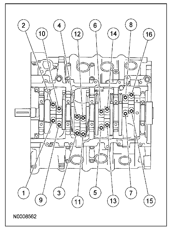
Connecting Rod Cap Bolts
Discard the bolts.





First pass 43 Nm (32 lb-ft).
Final pass Tighten an additional 105°