Curiosii for ever!: Car repair manuals for everyone.

System Specifications

Cylinder Head Bolts








CAUTION: The cylinder head bolts must be discarded and new bolts installed. They are tighten-to-yield designed and cannot be reused. Failure to follow these instructions may result in engine damage.

First pass 40 Nm (30 lb-ft).
Second pass Tighten an additional 90°
Final pass Tighten an additional 90°

Cylinder Head
The cylinder head must not have depressions deeper than 0.0254 mm (0.001 inch) across a 38.1 mm (1.5 inch) square area, or scratches more than 0.0254 mm (0.001 inch).

Intake Manifold Bolts 10 Nm (89 lb-in).





Camshaft Bearing Cap Bolts 10 Nm (89 lb-in).





Camshaft Sprocket Bolts
First pass 40 Nm (30 lb-ft).
Final pass Tighten an additional 90°

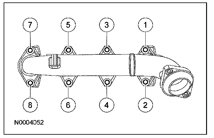
Exhaust Manifold Studs 12 Nm (9 lb-ft).
Discard the studs.

Exhaust Manifold Nuts 25 Nm (18 lb-ft).
Discard the nuts.