Curiosii for ever!: Car repair manuals for everyone.

System Specifications

Cylinder Head Bolts
Discard the cylinder head bolts.

Please refer to Cylinder Head Removal and Replacement for tightening specifications and procedure. Removal and Replacement

Head Gasket Surface WT 12/2.5. Head gasket surface finish - RZU-13.5 micron. Filter cut off at 0.08 min TPI @ 3.5 microns below the peak 63% min. Cut off at 0.08 mm (0.031496 inch), O Ref = 2V.

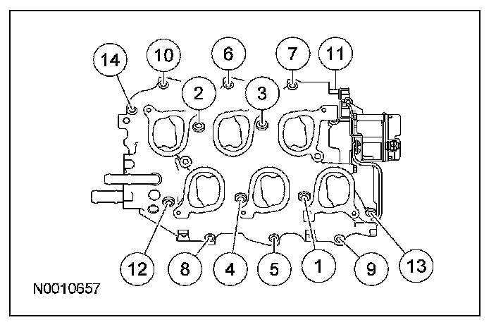
Upper Intake Manifold Bolts





First pass 6 Nm (53 lb-in).
Final pass 10 Nm (89 lb-in).

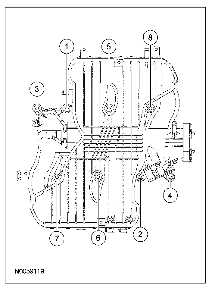
Lower Intake Manifold Bolts





NOTE: Make sure the bolts are installed in the correct locations. The long bolts are installed in positions 1, 2, 3, 4, 11 and 12.

First pass 5 Nm (44 lb-in).
Final pass 10 Nm (89 lb-in).

Exhaust Manifold Studs 12 Nm (9 lb-ft).
Discard the studs.

Exhaust Manifold Nuts 25 Nm (18 lb-ft).
Discard the nuts.