Curiosii for ever!: Car repair manuals for everyone.

4R70W/4R75W Automatic Transmission

Digital Transmission Range (TR) Sensor

Special Tool(s):





Removal
1. With the vehicle in NEUTRAL, position it on a hoist. For additional information, refer to Maintenance/Service and Repair.
2. Disconnect the digital transmission range (TR) sensor electrical connector.
3. Disconnect the selector lever cable from the manual lever.





4. Remove the manual control lever.
1 Remove the nut.
2 Remove the manual control lever.





5. Remove the digital TR sensor bolts and sensor.





Installation
1. Loosely install the digital TR sensor bolts and sensor.





2. NOTE: The manual shift lever must be in the NEUTRAL position.

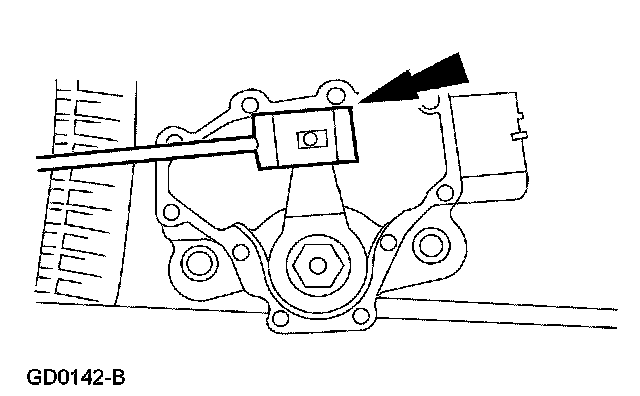
Using the special tool, align the digital TR sensor slots. The tool is designed to fit snug.





3. CAUTION: Tightening one screw before tightening the other may cause the sensor to bind or become damaged.

Tighten the digital TR sensor bolts.
^ Tighten to 9 Nm (80 inch lbs.)





4. Install the manual control lever.
1 Position the manual control lever.
2 Install a new manual control lever nut.
^ Tighten to 33 Nm (24 ft. lbs.)





5. Connect the selector lever cable end to the manual lever with the lever in the NEUTRAL position.





6. Install the digital TR sensor electrical connector.