Curiosii for ever!
: Car repair manuals for everyone.
Home
>>
Ford Truck
>>
2006
>>
Ranger 2WD L4-2.3L VIN D
>>
Repair and Diagnosis
>>
Powertrain Management
>>
Computers and Control Systems
>>
Relays and Modules - Computers and Control Systems
>>
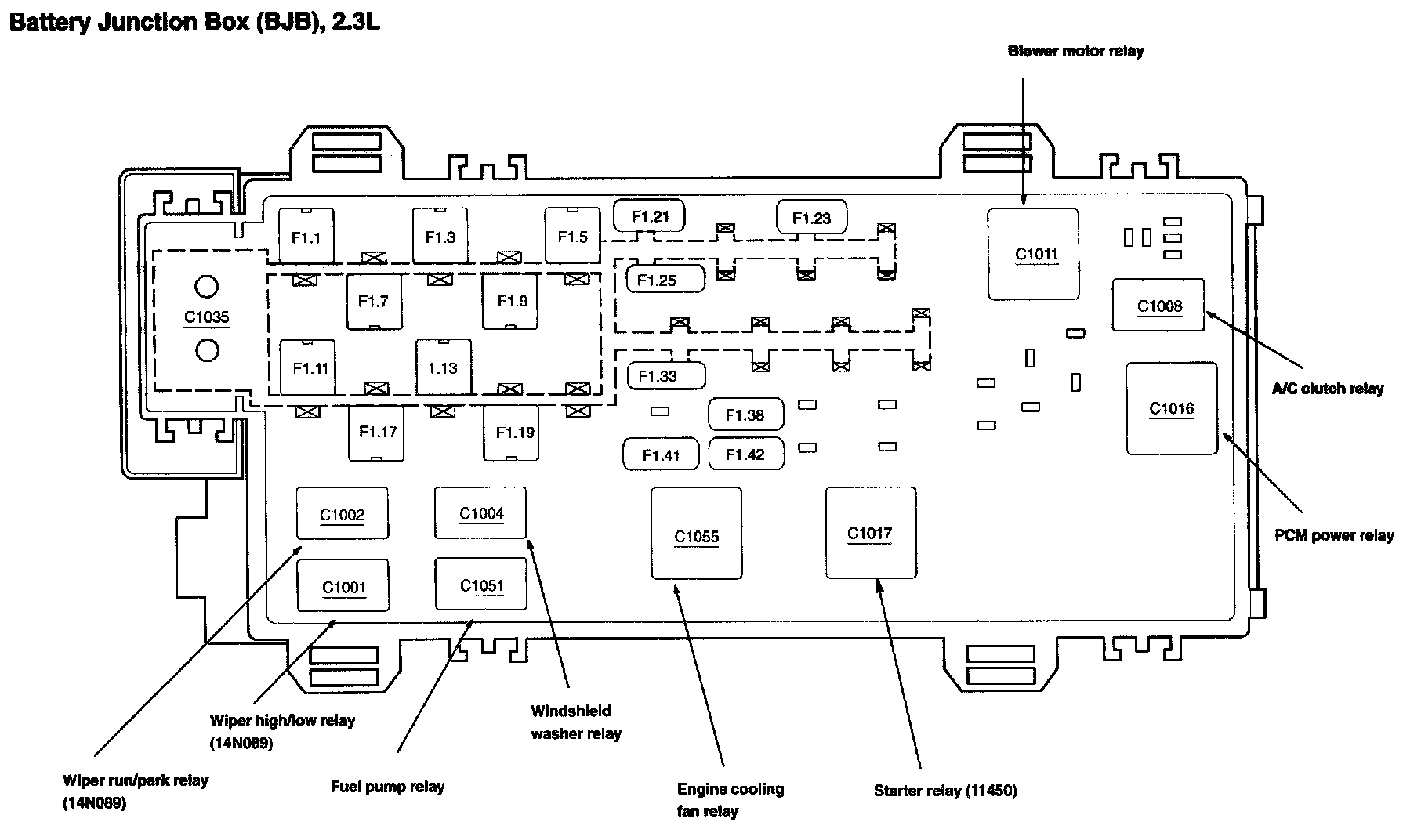
Main Relay (Computer/Fuel System)
>>
Locations
Main Relay (Computer/Fuel System): Locations