Curiosii for ever!: Car repair manuals for everyone.

Introduction

Note
All wiring connections between components are shown exactly as they exist in the vehicles. It is important to realize, however, that no attempt has been made on the diagram to represent components and wiring as they physically appear on the vehicle. For example, a 4-foot length of wire is treated no differently in a diagram from one which is only a few inches long. Furthermore, to aid in understanding electrical (electronic) operation, wiring inside complicated components has been simplified.

Complete Circuit Operation
Each circuit is shown completely and independently in one set. Other components which are connected to the circuit may not be shown unless they influence the circuit operation.







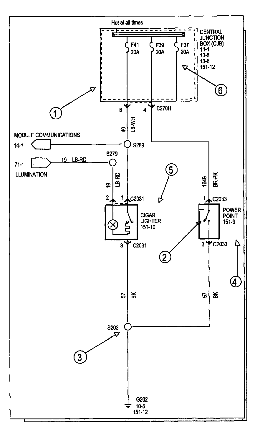
Current Flow (1)
Each set normally starts with the component that powers the circuit, such as a fuse or the ignition switch. Current flow is shown from the power source at the top of the diagram to ground at the bottom of the diagram. In order to concentrate on the essential parts, power supply and ground connections are sometimes simplified by a dashed line in the diagrams. A full representation of the power supply of a fuse or the power distribution from a fuse to various components is given in the Power and Ground Distribution Diagrams. Full representation of the ground connections is shown in the Power and Ground Distribution Diagrams.

Switch Positions (2)
Within the diagram, all switches, sensors and relays are shown "at rest" (as if the Ignition Switch were OFF).

Splices (3)
A dashed line indicates that the splice is not shown completely. A reference is given to the diagram where the splice appears in full. It is also listed in the Index.

Component Referencing (4)
Each component on a diagram has a reference to the component location view or the diagram where it is shown completely. It is located to the right of each component.

Component Names (5)
Component names are placed on the right hand side of each component. Any notes that describe switch positions or operating conditions follow the name. Descriptions of the internals of the component are also included here. The diagram where the component appears in full is listed in the Index. The base part number for a component is listed in parentheses next to or under a component.

Internal Name and Function Identification Numbers (6)
Some components on each diagram have internal symbols with an identification number located to the right. You can identify the internal symbol or function by finding the corresponding number under the component name.







Fuse and Relay Information
Fuse/Locations and Relay/Locations contains a view of the fuse-/relay box in which all fuses and relays are identified.







Power Distribution
Power and Ground Distribution Diagrams shows the current feed circuit. The current path is shown from the battery to the ignition switch and to all fuses. It also shows the circuits protected by each fuse. The circuit is traced from the fuse to the component. All details (wires, splices, connectors) between the fuse and the first component are shown.







Ground Distribution
Power and Ground Distribution Diagrams contains the diagrams that show the complete details for each ground connection or main ground splice. This is useful in diagnosing a problem affecting several components at once (poor ground connection or ground splice). All details (wires, splices, connectors) between the ground point and the components are shown. These ground connection details are shown here in order to keep the individual set diagrams as uncluttered as possible.


C904:






Component and Connector Information
Locations information that can be found at the vehicle level will help the user find where the various items depicted on the diagram can physically be found on the vehicle. A brief written description of the location is given, along with a reference to the component location views.

Component Location Views show the components and their connecting wires as they can be found on the vehicle.

Connector Views show the views of the pins and/or cavities of all connectors. The pin and cavity sides are shown separately as if the connector were disconnected. The color of the connector housing is indicated next to the connector number when available. The harness causal number is located above the component name and below the connector number or above the connector face itself. Wiring harness designations are listed in Component Location Charts. Circuit function charts are located below each connector.

WARNINGS
- Always wear safety glasses for eye protection.
- Use safety stands whenever a procedure requires being under a vehicle.
- Be sure that the Ignition Switch is always in the OFF position, unless otherwise required by the procedure.
- Set the parking brake when working on any vehicle. An automatic transmission should be in PARK. A manual transmission should be in NEUTRAL.
- Operate the engine only in a well-ventilated area to avoid danger of carbon monoxide.
- Keep away from moving parts, especially the fan and belts, when the I engine is running.
- To prevent sedous burns, avoid contact with hot metal parts such as the radiator, exhaust manifold, tall pipe, catalytic converter and muffler
- Do not allow flame or sparks near the battery Gases are always present in and around the battery set. An explosion could occur
- Do not smoke when working on a vehicle.
- To avoid injury, always remove rings, watches, loose hanging jewelry and avoid wearing loose clothing.