Curiosii for ever!: Car repair manuals for everyone.

System Specifications

Cylinder Block
Cylinder bore diameter - grade 1 90.200 - 90.210 mm (3.5512 - 3.5516 inch)
Cylinder bore diameter - grade 2 90.210 - 90.220 mm (3.5516 - 3.5520 inch)
Cylinder bore diameter - grade 3 90.220 - 90.230 mm (3.5520 - 3.5524 inch)
Cylinder bore maximum taper 0.006 mm (0.0002 inch)
Cylinder bore maximum out-of-round 0.020 mm (0.0008 inch)
Main bearing bore inside diameter 72.400 - 72.424 mm (2.850 - 2.851 inch)

Crankshaft
Main bearing journal diameter 67.481 - 67.505 mm (2.6567 - 2.6576 inch)
Main bearing journal maximum taper 0.004 mm (0.0002 inch)
Main bearing journal maximum out-of-round between cross sections 0.0075 mm (0.0003 inch)
Main bearing journal-to- cylinder block clearance 0.048 - 0.024 mm (0.0019 - 0.0009 inch)
Connecting rod journal diameter 53.003 - 52.983 mm (2.0867 - 2.0859 inch)
Connecting rod journal maximum taper 0.004 mm (0.0002 inch)
Connecting rod journal maximum out-of-round between cross sections 0.0075 mm (0.0003 inch)
Crankshaft maximum end play 0.075 - 0.377 mm (0.0030 - 0.0148 inch)

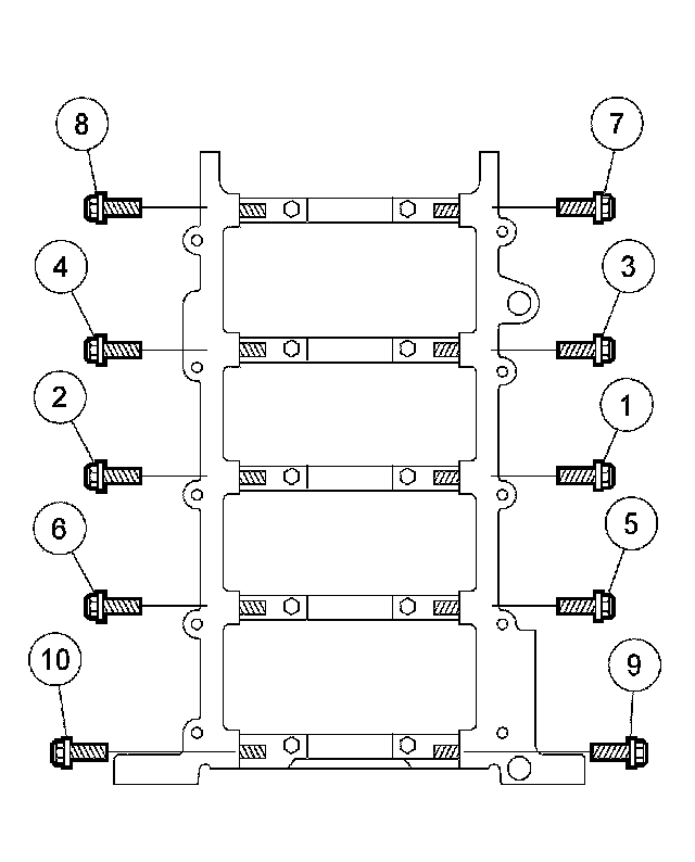
Crankshaft main bearing cap bolts





Stage 1: 40 Nm (30 ft. lbs.)
Stage 2: additional 90 degrees





Crankshaft main bearing cap side bolts 21 Nm (15 ft. lbs.)





Jack screws
Stage 1: 5 Nm (44 inch lbs.)
Stage 2: 10 Nm (89 inch lbs.)

Piston and Connecting Rod
Piston diameter - grade 1 (at right angle to pin bore) (uncoated) 90.182 - 90.167 mm
(3.5504 - 3.5499 inch)
Piston diameter - grade 2 (at right angle to pin bore) (uncoated) 90.196 - 90.179 mm
(3.551 - 3.5503 inch)
Piston diameter - grade 3 (at right angle to pin bore) (uncoated) 90.208 - 90.193 mm
(3.5515 - 3.551 inch)
Piston-to-cylinder bore clearance (at grade size) 0.017 - 0.047 mm (0.0007 - 0.0019 inch)
Piston ring end gap - top 0.15 - 0.30 mm (0.006 - 0.012 inch)
Piston ring end gap - intermediate 0.25 - 0.50 mm (0.0098 - 0.0197 inch)
Piston ring end gap - oil control 0.15 - 0.65 mm (0.0059 - 0.0256 inch)
Piston ring groove width * top 1.52 - 1.54 mm (0.0598 - 0.0606 inch)
Piston ring groove width * intermediate 1.52 - 1.54 mm (0.0598 - 0.0606 inch)
Piston ring groove width * oil control 3.030 - 3.056 mm (0.1193 - 0.1203 inch)
Piston ring width - top and intermediate 1.50 - 1.48 mm (0.0590 - 0.0582 inch)
Piston ring-to-groove clearance - top 0.020 - 0.060 mm (0.0008 - 0.0020 inch)
Piston ring-to-groove clearance - intermediate 0.020 - 0.060 mm (0.0008 - 0.0020 inch)
Piston pin bore diameter 22.0125 - 22.0175 mm (0.8666 - 0.8668 inch)
Piston pin diameter 22.0010 - 22.0030 mm (0.8662 - 0.8663 inch)
Piston pin length 61.8 mm (2.433 inch)
Piston pin-to-piston fit 0.0095 - 0.023 mm (0.0004 - 0.0009 inch)
Connecting rod-to-pin clearance 0.009 - 0.023 mm (0.0004 - 0.0009 inch)
Connecting rod pin bore diameter 22.012 - 22.024 mm (0.8666 - 0.8671 inch)
Connecting rod length (center-to-center) 150.7 mm (5.933 inch)
Connecting rod maximum allowed bend 0.038 mm (0.0015 inch)
Connecting rod maximum allowed twist a 0.05 mm (0.0020 inch)
Connecting rod bearing bore diameter (with assembled liners) 53.049 - 53.027 mm (2.0885 - 2.0877 inch)
Connecting rod bearing-to-crankshaft clearance 0.024 - 0.066 mm (0.0009 - 0.0026 inch)
Connecting rod side clearance 0.5 - 0.15 mm (0.02 - 0.006 inch)
a The pin bore and crank bearing bore must be parallel and in the same vertical plane within the specified total difference when measured at the ends of a 203 mm bar, 105.5 mm on each side of rod centerline.

Crankshaft Pulley Bolt

Stage 1: 90 Nm (66 ft. lbs.)
Stage 2: Loosen 360 degrees.
Stage 3: 50 Nm (37 ft. lbs.)
Stage 4: additional 90 degrees