Curiosii for ever!: Car repair manuals for everyone.

Torque Specifications














Torque Specifications


Cylinder Head





Tighten in 3 stages:
Stage 1 20 Nm (14 ft. lbs.)
Stage 2 40 Nm (29 ft. lbs.)
Stage 3 50 Nm (36 ft. lbs.)





CAUTION: Each bolt must be loosened and the final tightening carried out prior to working on the next bolt in the sequence. Do not loosen all of the bolts at one time.

Carry out the following final tightening process on each bolt in the sequence shown.
^ Long bolts: Loosen the long bolt and back out 3 turns.
Tighten the long bolt to 40 Nm (30 ft. lbs.).
Tighten the long bolt an additional 180 degrees.
Go to the next bolt in sequence.
^ Short bolts:
Loosen the short bolt and back out 3 turns.
Tighten the short bolt to 25 Nm (18 ft. lbs.).
Tighten the short bolt an additional 180 degrees.
Go to the next bolt in sequence.

ALWAYS USE NEW BOLTS


Upper Intake Manifold





Tighten in 2 stages:
Stage 1 6 Nm (53 inch lbs.)
Stage 2 10 Nm (89 inch lbs.)


Lower Intake Manifold





Tighten in 2 stages:
Stage 1 5 Nm (44 inch lbs.)
Stage 2 10 Nm (89 inch lbs.)


Main Bearing Cap





Tighten in 2 stages:
Stage 1 55 Nm (41 ft. lbs.).
Stage 2 Rotate an additional 90 degrees.


Rod Bearing Cap





Tighten in 3 stages:
Stage 1 25 Nm (18 ft. lbs.)
Stage 2 45 Nm (33 ft. lbs.)
Stage 3 Tighten an additional 105 degrees.


Crankshaft Pulley Bolt 160 Nm (118 ft. lbs.)


Flex Plate 80 Nm (59 ft. lbs.)


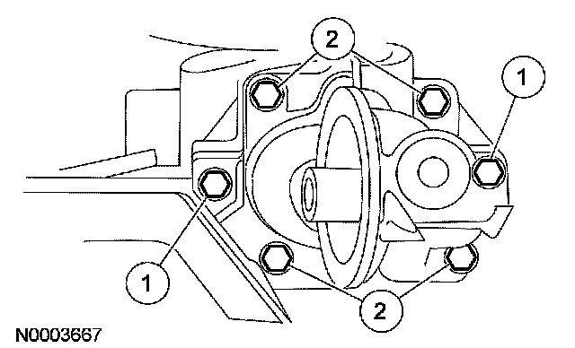
Oil Pump





Tighten 10 Nm (89 inch lbs.).
Tighten 25 Nm (18 ft. lbs.)


Exhaust Manifold, RH





Tighten 25 Nm (18 ft. lbs.)


Exhaust Manifold, LH





Tighten 25 Nm (18 ft. lbs.)


Coolant Pump





Tighten 28 Nm (21 ft. lbs.)