Curiosii for ever!: Car repair manuals for everyone.

Oxygen Sensor: Service and Repair

HEATED OXYGEN SENSOR (HO2S)


Socket, Exhaust Gas Oxygen Sensor:






Special Tool(s)


1. Disconnect the battery ground cable.







2. Disconnect the heated oxygen sensor (HO2S) electrical connector.







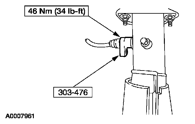
3. NOTE: If removing the HO2S on a 6.8L engine, raise and support the vehicle.

Using the special tool, remove the HO2S.

4. To install, reverse the removal procedure.