Curiosii for ever!: Car repair manuals for everyone.

Electronic Brake Control Module: Service and Repair

Anti-Lock Brake System (ABS) Module

Removal and Installation
1. Remove the Hydraulic Control Unit (HCU).





2. NOTE: The ABS module cannot be repaired, install a new ABS module.

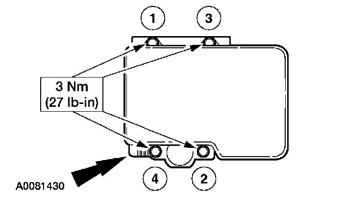
Remove the bolts.





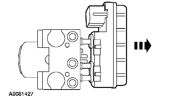
3. CAUTION: When the ABS module is separated from the HCU, the motor terminals and the valve stems will be exposed. Protect the terminals and the valve stems from damage.

Remove the ABS module from the HCU.





4. CAUTION: A new seal kit must be used when installing the ABS module. The old seals must be discarded as they may cause a leak between the ABS module and the HCU.

NOTE: The O-ring seals must be installed to the valve flange. Make sure there is no twist to the O-ring seal when installed.

Discard the O-ring seals and install new ones (one seal per each valve stem).





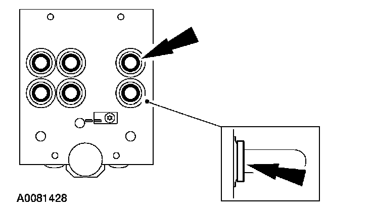
5. NOTE: Clean the groove of the ABS module before installing a new seal.

Discard the ABS module sealing material and install a new seal.

6. CAUTION: All components must be free of dust, oil, fluid and foreign matter.

To install, reverse the removal procedure.