Curiosii for ever!: Car repair manuals for everyone.

Cruise Control Servo: Service and Repair

SPEED CONTROL ACTUATOR

REMOVAL
1. Disconnect the battery.







2. Disconnect the speed control actuator electrical connector.







3. Remove the speed control cable cap from the speed control actuator.
- Push in the locking arm on the speed control cable cap then rotate the cap counterclockwise.







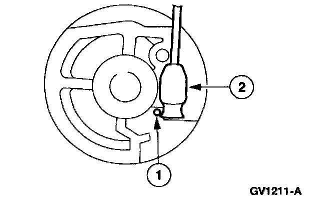
4. Remove the speed control cable.
1 Press the spring retainer.
2 Slide the core wire end out of the speed control actuator pulley and remove the speed control cable.







5. Remove the speed control actuator bracket bolt and remove the servo.







6. Remove the bolts and separate the speed control actuator bracket from the speed control actuator.

INSTALLATION

1. NOTE: Make sure the rubber seal is fully seated onto the speed control cable cap.

To install, reverse the removal procedure.