Curiosii for ever!: Car repair manuals for everyone.

Connecting Rod, Engine

Connecting rod journal diameter 53.98-54.0 mm (2.125-2.126 inch)
Connecting rod journal maximum taper 0.008 mm (0.0003 inch)
Connecting rod journal maximum out-of-round 0.008 mm (0.0003 inch)
Connecting rod pin bore diameter 23.958-23.976 mm (0.943-0.944 inch)
Connecting rod length (center-to-center) 145.965-146.035 mm (5.746-5.749 inch)
Connecting rod maximum allowed bend 0.0125 mm (0.00049 inch) per 25.4 mm (1.000 inch)
Connecting rod maximum allowed twist 0.038 mm (0.0015 inch) per 25.4 mm (1.000 inch)
Connecting rod side clearance 0.092-0.268 mm (0.0036-0.0106 inch)





NOTE:Clearly mark the connecting rods and rod caps in numerical order for correct reassembly.


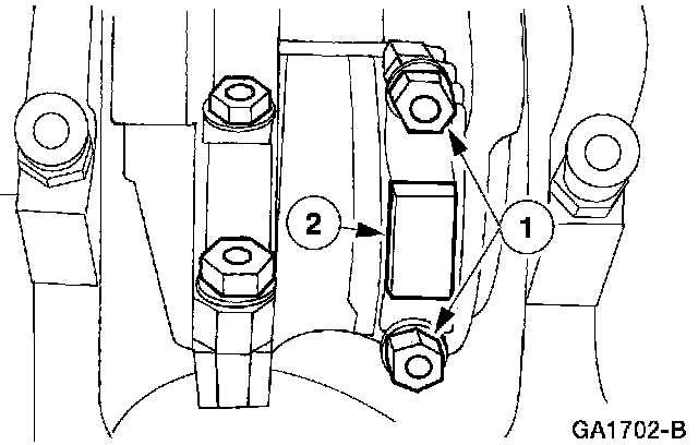
CONNECTING ROD NUTS






1. Install and tighten the connecting rod nuts finger tight.
2. Tighten the connecting rod nuts simultaneously in two stages:
^ Stage 1: Tighten to 20 Nm (15 ft. lbs.).
^ Stage 2: Tighten an additional 90 degrees.
3. Repeat the previous four steps for the remaining connecting rods.