Curiosii for ever!: Car repair manuals for everyone.

4R100 Automatic Transmission

Digital Transmission Range (TR) Sensor





Special Tool(s)

Removal

NOTE: If the vehicle is equipped with a power take-off unit, all or part of the PTO unit may need to be removed.

1. With the vehicle in NEUTRAL, position it on a hoist. For additional information, refer Maintenance/Service and Repair.





2. Disconnect the connector.





3. Disconnect the shift cable at the manual control lever.





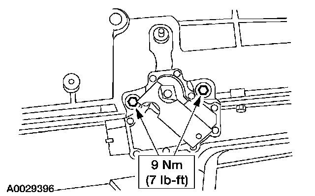
4. Remove the digital Transmission Range (TR) sensor.
1 Remove the bolts.
2 Remove the digital Transmission Range (TR) sensor.

Installation





1. Install the digital Transmission Range (TR) sensor.
1 Install digital Transmission Range (TR) sensor.
2 Loosely install the bolts.





2. NOTE: Make sure that the manual control lever is in the neutral position.

Using the special tool, align the digital TR sensor. The tool is designed to fit snug.





3. Tighten the bolts.





4. Reconnect the shift cable at the manual control lever.





5. Reconnect the connector.