Curiosii for ever!: Car repair manuals for everyone.

Electronic Brake Control Module: Service and Repair

Anti-Lock Brake System (ABS) Module-Anti-Lock Brake Control

Removal and Installation
1. Remove the Hydraulic Control Unit (HCU).





2. Disconnect the pump motor electrical connector from the anti-lock brake control module.





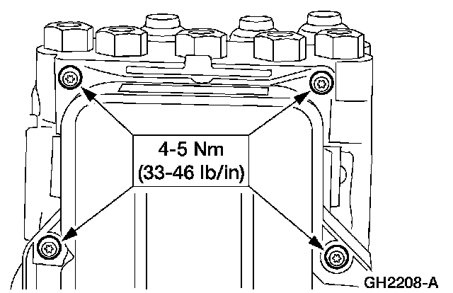
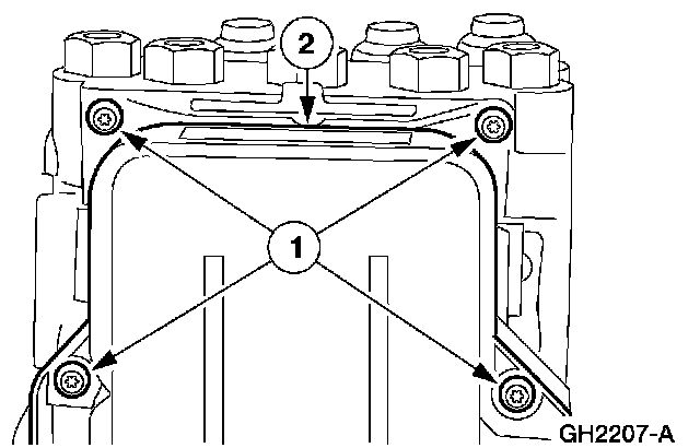
3. Remove the anti-lock brake control module.
1 Remove the screws.
2 Remove the anti-lock brake control module.





4. To install, reverse the removal procedure.