Curiosii for ever!
: Car repair manuals for everyone.
Home
>>
Ford Truck
>>
2004
>>
Escape AWD V6-3.0L VIN 1
>>
Repair and Diagnosis
>>
Specifications
>>
Mechanical Specifications
>>
Engine
>>
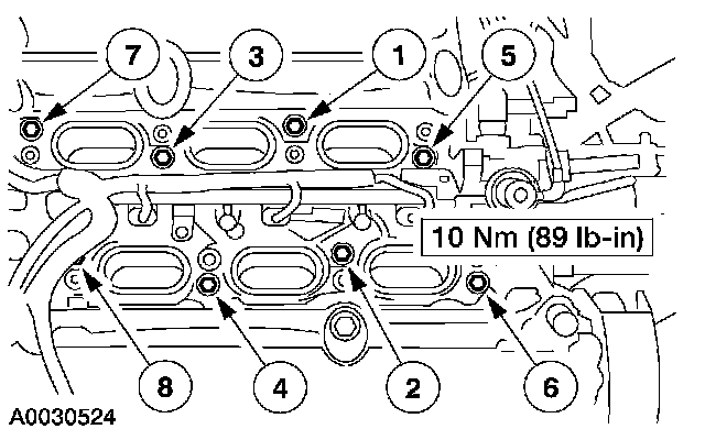
Intake Manifold
Intake Manifold
Upper intake manifold bolts
10 Nm (89 inch lbs.)
Lower intake manifold bolts
10 Nm (89 inch lbs.)