Curiosii for ever!
: Car repair manuals for everyone.
Home
>>
Ford Truck
>>
2003
>>
Windstar V6-3.8L VIN 4
>>
Repair and Diagnosis
>>
Specifications
>>
Mechanical Specifications
>>
Engine
>>
System Specifications
>>
Torque Specifications
Torque Specifications
Torque Specifications
Intake Manifold
Sequence
LH:
Exhaust Manifold
torque and sequence
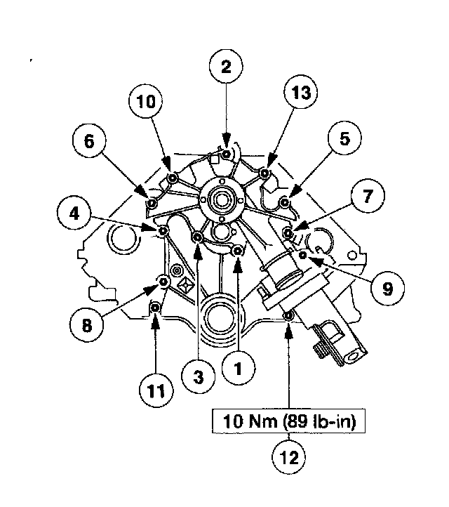
Water Pump sequence