Electronic Brake Control Module: Service and Repair
Anti-Lock Brake System (ABS) Module-Anti-Lock Brake ControlRemoval and Installation
1. Remove the hydraulic control unit (HCU).
2. Disconnect the pump motor electrical connector from the anti-lock brake control module.
3. Remove the anti-lock brake control module.
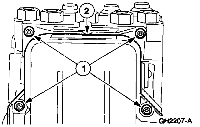
1. Remove the screws.
2. Remove the anti-lock brake control module.
4. To install, reverse the removal procedure.