Curiosii for ever!
: Car repair manuals for everyone.
Home
>>
Ford Truck
>>
2002
>>
Ranger 2WD L4-2.3L VIN D
>>
Repair and Diagnosis
>>
Diagrams
>>
Electrical Diagrams
>>
General Module
General Module
Diagram 59-1:
Diagram 59-2:
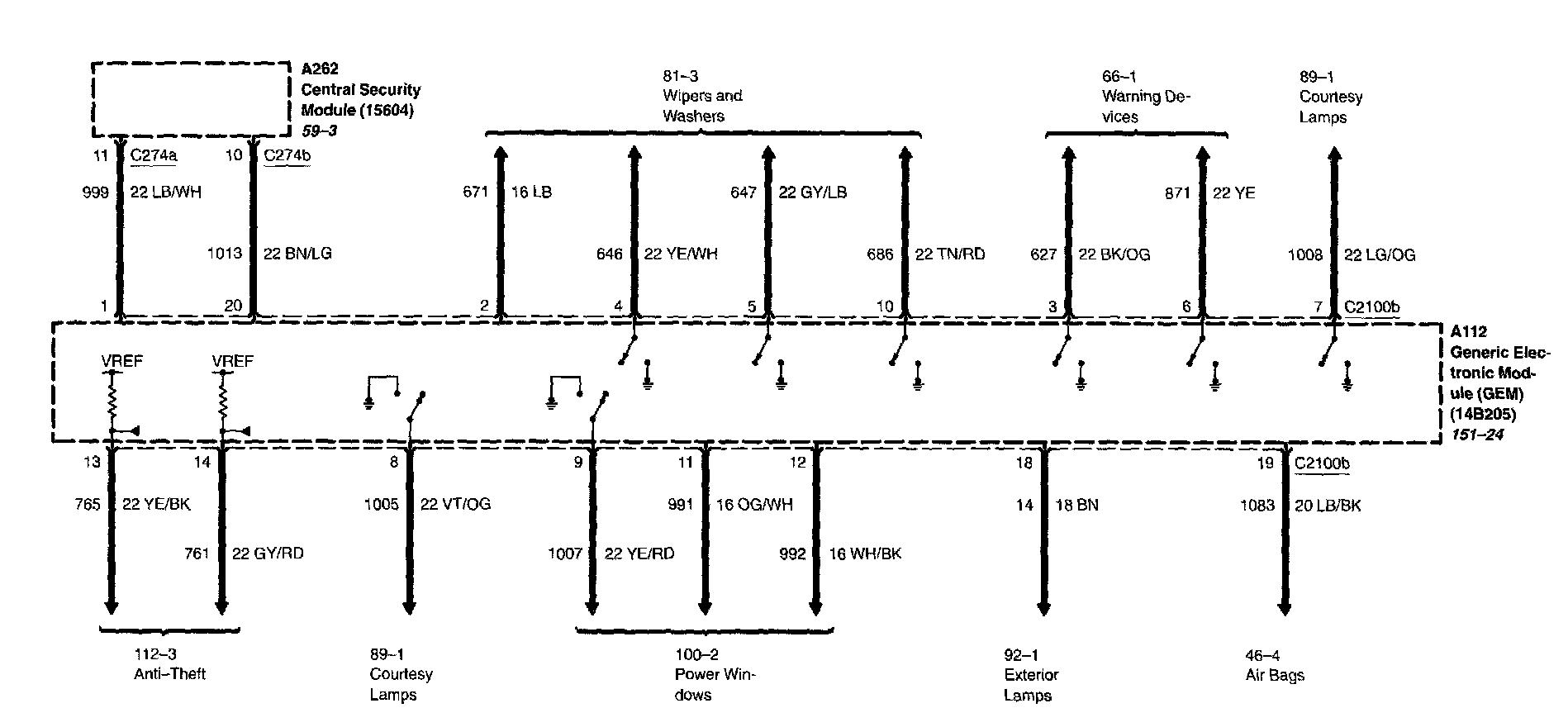
Diagram 59-3: