Curiosii for ever!: Car repair manuals for everyone.

Camshaft Position Sensor: Service and Repair

REMOVAL
1. Disconnect the battery ground cable.







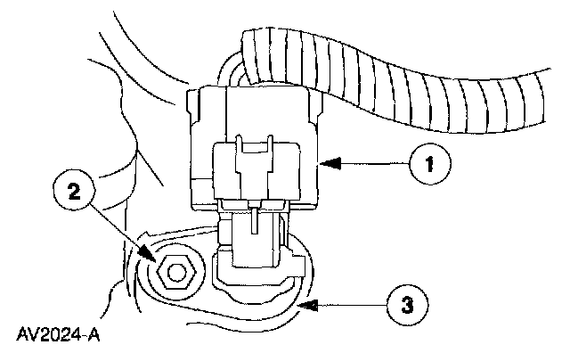
2. Remove the Camshaft Position (CMP) sensor.
1 Disconnect the electrical connector.
2 Remove the bolt.
3 Remove the sensor.

INSTALLATION







1. To install, reverse the removal procedure.