Curiosii for ever!: Car repair manuals for everyone.

Pump Assembly

Pump Assembly








Special Tool(s)








Pump Assembly, Disassembled View

Disassembly

CAUTION: The pump assembly is model dependent. Failure to use the correct pump may cause transmission assembly damage; refer to the correct pump.





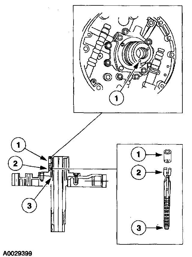
1. NOTE: Inspect and replace the front pump seal, if damaged.

Using the special tools, remove the front pump seal.





2. Remove the front pump stator support seal.





3. Remove the two Teflon coast clutch seals.





4. Remove the PUMP Outer diameter square-cut front pump seal.





5. CAUTION: Do not reuse the orifice cup plug or spring and stop assembly. Failure to replace these parts may cause repeat repairs. Make sure the old rubber stop is removed (it may become separated from the spring assembly).

CAUTION: Use care not to damage any machined surfaces of the stator support.

Remove and discard the orifice cup plug and the spring and stop assembly. Clean and inspect the bore, making sure it is clean of any debris.
1 Remove the orifice cup plug.
2 Remove the spring and stop assembly.
3 Remove the old rubber stop.





6. Remove 12 bolts and separate the pump control body from the pump body.





7. CAUTION: Do not remove any of the remaining cup plugs unless directed to do so in other steps. Do not remove the stator support from the control body. This can distort the surface of the control body.

NOTE: Inspect the main regulator booster valve and sleeve assembly. If the pump valve bore is not damaged but the valve and sleeve are worn, replace the valve and sleeve.

Remove the converter clutch shift valve assembly, converter regulator valve assembly, and main regulator boost valve and sleeve assembly.
1 For diesel application, remove the retainer clip with a small screwdriver or tweezers then remove the converter clutch shift valve assembly.
2 For gasoline application, remove the retainer clip with a small screwdriver or tweezers then remove the converter clutch shift valve assembly.
3 Remove the retainer clip with a small screwdriver or tweezers then remove the converter regulator valve assembly.
4 Remove the retainer clip with a small screwdriver or tweezers then remove the main regulator valve assembly.





8. Remove and inspect the inner and the outer gerotor gears.
- Clean all pump parts in solvent.
- Dry the parts with compressed air.
- Inspect the pump gears, faces, gear teeth, pump housing and mating surfaces for damage or scoring.
- Replace the entire pump if any part is damaged or worn.





9. Inspect the converter hub bushing. If scored or excessively worn, replace the entire pump. Note the orientation of the tube groove.





10. NOTE: The pump assemblies are model-dependent.
Inspect the front and the rear input shaft bushing. If the bushing is worn or scored install a new pump.
1 Front input shaft bushing.
2 Rear input shaft bushing.





11. NOTE: The pump assemblies are model-dependent.
Remove the coast clutch seats and discard.
1 Inspect the bushing for wear. If scored or worn, replace the entire pump.
2 Remove the coast clutch seals.





12. Measure and record the depth of the inner, then the outer, pump gerotor gear face-to-pump body machined surface.
1 Place the pump gerotor gear set into the pump gear pocket and center it to the pump bushing diameter.
2 Using the special tool, measure and record the depth of the inner gerotor gear face to the pump body machined surface. Repeat measurement for a total of three readings in equally spaced locations on the gear face. If the reading is not within specification, replace the front pump assembly.
3 Remove the inner gear and reinstall the outer gear. Repeat Substep 2 for the outer gerotor gear face.
13. Inspect the following:
- All valve and plug bores for scoring or damage.
- All passages for obstructions.
- Mating surfaces for burrs and scoring.
- All springs for distortion.
- When dry, check all valves and plugs for free movement in their respective bores.

Assembly





1. Install the main regulator valve and sleeve assembly, converter clutch shift valve assembly, and the converter regulator valve assembly.
1 For diesel application, install the converter clutch control valve assembly. Then apply pressure to the end plug and install the retainer, making sure it is correctly seated.
2 For gasoline application, install the converter clutch control valve assembly. Then apply pressure to the end plug and install the retainer, making sure it is correctly seated.
3 Install the converter regulator valve assembly. Then apply pressure to the end plug and install the retainer, making sure it is correctly seated.
4 Install the main regulator boost valve and sleeve assembly. Then apply pressure to the main regulator booster sleeve and install the retainer, making sure it is correctly seated.





2. NOTE: Prior to installation, lightly lubricate the gerotor gears with clean automatic transmission fluid.

Install the gerotor gear set, with the dot facing the control body assembly.





3. CAUTION: Prior to pump assembly, make sure all cup plugs are installed.

CAUTION: Inspect mating surfaces of the pump body and the control body to make sure they are clean and free of nicks and burrs.

Assemble the control body and stator assembly onto the pump body, aligning the 28 mm (1.12 inch) hole in each body.





4. NOTE: Make sure that the outer edges of the pump body and the outer bolt holes are aligned during assembly.

Using the special tool, assemble the pump and loosely install 11 bolts.
1 Install the 10 mm (0.4 inch) alignment bolt.
2 Tighten the bolts.





5. CAUTION: Make sure the seal grooves in the stator support are clean and free of burrs.

CAUTION: Make sure the seal ends are correctly positioned together and not separated.

Install the 2 coast clutch Teflon seals. Make sure the seals are fully seated in the stator support seal grooves and the seal ends are oriented 180 degrees apart.
1 Correct position of the seal ends.
2 Incorrect position of the seal ends.
3 Seals need to be installed 180 degrees apart.





6. Install the pump outer diameter square-cut front pump seal.





7. Install the front pump stator support seat.





8. CAUTION: Failure to replace these parts may cause repeat repairs.

NOTE: Install the rubber stop end into the bore first.

Install the new spring and stop assembly.





9. NOTE: Make sure the edge of the cup plug is seated just below the stator support surface that mates with the No. 2 needle bearing assembly.

Using a small drift and mallet, install the new orifice cup plug.





10. If removed, install the front pump seal, using the special tool.





11. NOTE: Lightly lubricate the thrust washer and the bearing with petroleum jelly to hold them in place during assembly.

Install the No. 1 pump thrust washer and the No. 2A overdrive sun gear thrust bearing.