Vehicles Built Before 11/30/00
Removal1. Remove the Electronic Hydraulic Control Unit (EHCU).
2. Disconnect the pump motor electrical connector from the anti-lock brake control module.
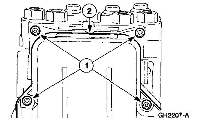
3. Remove the anti-lock brake control module.
1 Remove the screws.
2 Remove the anti-lock brake control module.
Installation
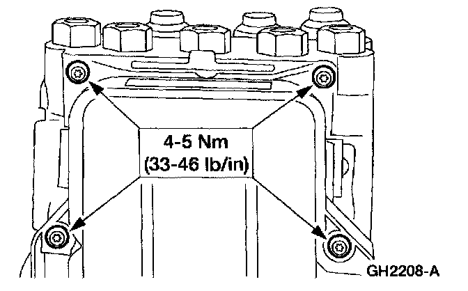
1. To install, reverse the removal procedure.