Curiosii for ever!: Car repair manuals for everyone.

4-Wheel Antilock Brake System

Removal
1. Remove the electronic hydraulic control unit (EHCU).





2. Disconnect the pump motor electrical connector from the anti-lock brake control module.





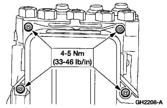
3. Remove the anti-lock brake control module.
1 Remove the screws.
2 Remove the anti-lock brake control module.

Installation





1. To install, reverse the removal procedure.