Curiosii for ever!: Car repair manuals for everyone.

System Specifications











Engine General Specifications

Tightening Specifications

CAUTION: The cylinder head bolts must be replaced with new bolts. They are tighten-to-yield designed and cannot be reused.

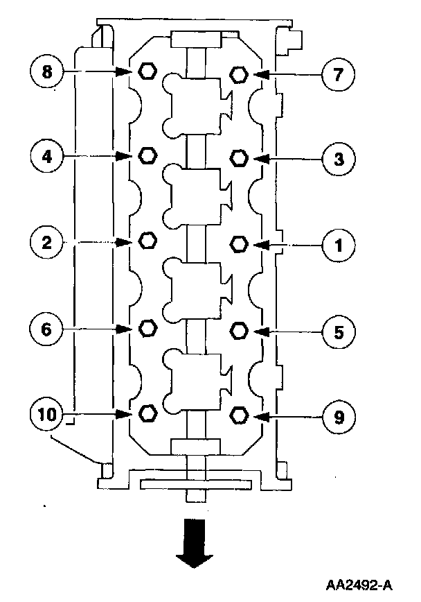
Note: Make sure to tighten the bolts in sequence in three stages.





Tighten the LH bolts in the sequence shown.
- Stage 1: Tighten to 37-43 Nm (27-32 ft. lbs.).
- Stage 2: Tighten an additional 85-95 degrees.
- Stage 3: Tighten an additional 85-95 degrees.

Note: Make sure to tighten the bolts in sequence in three stages.





Tighten the RH bolts in the sequence shown.
- Stage 1: Tighten to 37-43 Nm (27-32 ft. lbs.).
- Stage 2: Tighten an additional 85-95 degrees.
- Stage 3: Tighten an additional 85-95 degrees.