Curiosii for ever!: Car repair manuals for everyone.

Starter Motor: Service and Repair

REMOVAL

WARNING: WHEN CARRYING OUT MAINTENANCE ON THE STARTING SYSTEM BE AWARE THAT HEAVY GAUGE LEADS ARE CONNECTED DIRECTLY TO THE BATTERY. MAKE SURE PROTECTIVE CAPS ARE IN PLACE WHEN MAINTENANCE IS COMPLETE.

1. Disconnect the battery ground cable. For additional information, refer to Battery.
2. Raise and support the vehicle; refer to Maintenance/Service and Repair.







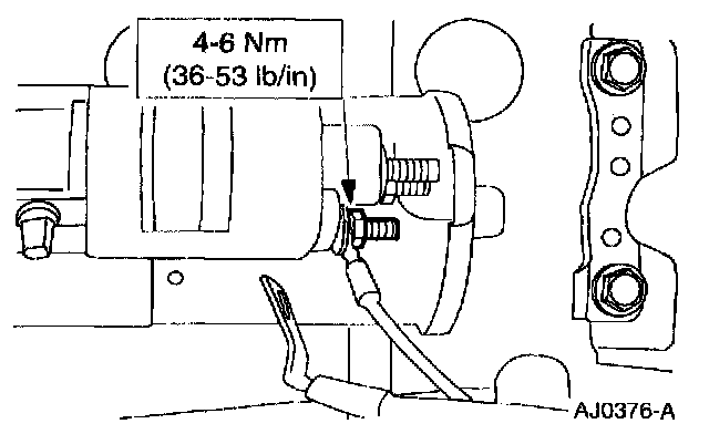
3. Remove the starter motor solenoid terminal cover.







4. Remove the nut and remove the wire.







5. Remove the nut and remove the wire.







6. Remove the three bolts and remove the starter motor.

INSTALLATION

















1. To install, reverse the removal procedure.