Curiosii for ever!: Car repair manuals for everyone.

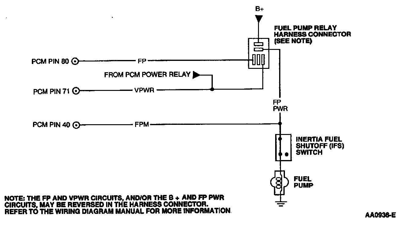
Tests KA: Fuel Pump Relay




NOTE
This Pinpoint Test is intended to diagnose the following:
- Fuel pump relay
- Inertia fuel shutoff (IFS) switch
- Harness circuits: B+, VPWR, FP LFP, GND, FPM and FP PWR
- Powertrain Control Module (PCM)

Pinpoint Test Schematics and Connectors

Town Car, Excursion (Fuel Pump Relay):





Ranger, Explorer/Mountaineer, Windstar (Fuel Pump Relay):





Crown Victoria/Grand Marquis, E-Series, Expedition/Navigator, F-Series, (Except 5.4L SC Lightning) (Fuel Pump Relay):





5.4L (2V) SC F-150 Lightning (Fuel Pump Relay/Inertia Fuel Shutoff Switch Relay, Low Speed Fuel Pump Relay):






Pinpoint Tests