Curiosii for ever!
: Car repair manuals for everyone.
Home
>>
Ford Truck
>>
2000
>>
Excursion 2WD V10-6.8L VIN S
>>
Repair and Diagnosis
>>
Powertrain Management
>>
Computers and Control Systems
>>
Relays and Modules - Computers and Control Systems
>>
Main Relay (Computer/Fuel System)
>>
Testing and Inspection
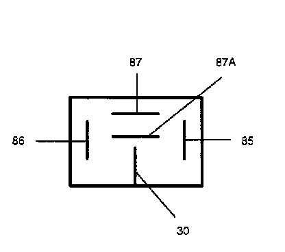
Main Relay (Computer/Fuel System): Testing and Inspection
Component Testing Procedure:
Terminals:
Schematic: