Curiosii for ever!: Car repair manuals for everyone.

Component Tests and General Diagnostics



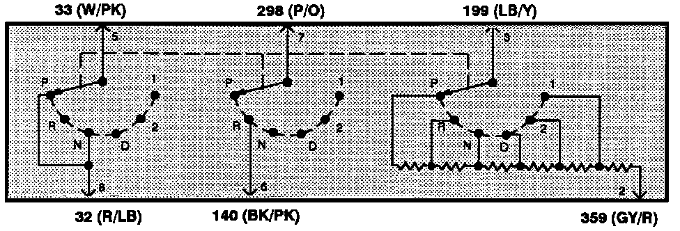
Transmission Range Sensor

For an "engine won't crank" condition, determine if the condition exists with the shift control selector lever in both Park and Neutral positions before performing any ignition switch continuity tests.

If "no crank" condition only exists in either Park or Neutral position:

TR Sensor Testing Procedures:





Transmission Range Sensor - Terminal Locations:





Transmission Range Sensor - Schematic:






- Test the transmission range sensor.
- Run On-Board Diagnostic.
- Perform Pinpoint Test A. Pinpoint Tests