Occupant Detection Sensor - Removal
REMOVAL
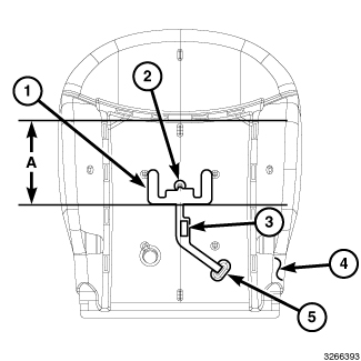
POP AND LOUNGE SEAT
WARNING: To avoid serious or fatal injury on vehicles equipped with airbags, disable the Supplemental Restraint System (SRS) before attempting any steering wheel, steering column, airbag, seat belt tensioner, impact sensor or instrument panel component diagnosis or service. Disconnect and isolate the battery negative (ground) cable, then wait two minutes for the system capacitor to discharge before performing further diagnosis or service. This is the only sure way to disable the SRS. Failure to take the proper precautions could result in accidental airbag deployment.
1. Position the passenger side front seat to its most forward position for easiest access to the front seat mounting hardware.
2. Disconnect and isolate the battery negative cable. Wait two minutes for the system capacitor to discharge before further service.
3. Remove the passenger side front seat from the vehicle. Front Seat - Removal.
4. Remove the trim from the front seat cushion foam and frame. Seat Cushion Cover - Removal.
5. If the vehicle is so equipped, remove the heater mat from the seat cushion foam. Heater Pad - Removal.
6. Reach under the back of the front seat cushion frame to access and disconnect the Occupant Detection Sensor (ODS) (1) pigtail wire connector from the seat wire harness.
7. Disengage the ODS hot melt block and pigtail wire from the clearance hole (5) near the back of the seat cushion foam (4).
8. Disengage the ODS locator tab from the locator hole (2) near the center of the seat cushion foam.
9. Disengage the adhesive patch (3) of the ODS from the top surface of the seat cushion foam.
10. Remove the ODS from the seat cushion.
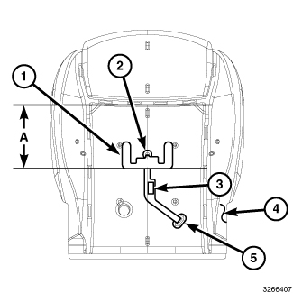
SPORT SEAT
WARNING: To avoid serious or fatal injury on vehicles equipped with airbags, disable the Supplemental Restraint System (SRS) before attempting any steering wheel, steering column, airbag, seat belt tensioner, impact sensor or instrument panel component diagnosis or service. Disconnect and isolate the battery negative (ground) cable, then wait two minutes for the system capacitor to discharge before performing further diagnosis or service. This is the only sure way to disable the SRS. Failure to take the proper precautions could result in accidental airbag deployment.
1. Position the passenger side front seat to its most forward position for easiest access to the front seat mounting hardware.
2. Disconnect and isolate the battery negative cable. Wait two minutes for the system capacitor to discharge before further service.
3. Remove the passenger side front seat from the vehicle. Front Seat - Removal.
4. Remove the trim from the front seat cushion foam and frame. Seat Cushion Cover - Removal.
5. If the vehicle is so equipped, remove the heater mat from the seat cushion foam. Heater Pad - Removal.
6. Reach under the back of the front seat cushion frame to access and disconnect the Occupant Detection Sensor (ODS) (1) pigtail wire connector from the seat wire harness.
7. Disengage the ODS hot melt block and pigtail wire from the clearance hole (5) near the back of the seat cushion foam (4).
8. Disengage the ODS locator tab from the locator hole (2) near the center of the seat cushion foam.
9. Disengage the adhesive patch (3) of the ODS from the top surface of the seat cushion foam.
10. Remove the ODS from the seat cushion.