Curiosii for ever!
: Car repair manuals for everyone.
Home
>>
Fiat
>>
2012
>>
500 L4-1.4L
>>
Repair and Diagnosis
>>
Brakes and Traction Control
>>
Disc Brake System
>>
Brake Pad
>>
Specifications
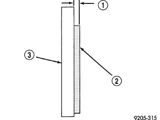
Brake Pad: Specifications
BRAKE PAD
Measure
brake pad
minimum thickness. Brake pads must be replaced when usable material on a brake pad lining measured at its thinnest point measures one millimeter (0.04 inches) or less.