Curiosii for ever!
: Car repair manuals for everyone.
Home
>>
Eagle
>>
1995
>>
Vision V6-201 3.3L
>>
Repair and Diagnosis
>>
A L L Diagnostic Trouble Codes ( DTC )
>>
Testing and Inspection
>>
Manufacturer Code Charts
>>
Speed Control (SC) Tests
>>
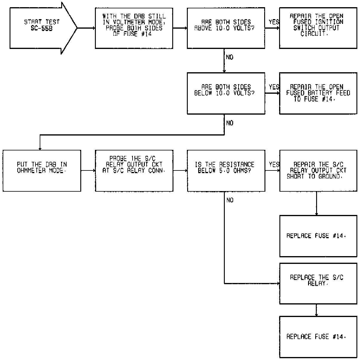
SC-55B Repairing Speed Control Power Relay Circuit
SC-55B Repairing Speed Control Power Relay Circuit
Fig. 11 Code 77 (Test SC-55B): Repairing Speed Control Power Relay Circuit: