Curiosii for ever!: Car repair manuals for everyone.

Catalytic Converter: Description and Operation






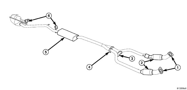
DESCRIPTION




The 5.7L close coupled, three-way catalytic converter inlets are connected to the exhaust manifolds by the use of ball flange (1). The left and right side converter outlet pipe connects to the exhaust system. The 5.7L is bolted to the exhaust header. The 3.6L bolts directly to the integrated exhaust manifold