Curiosii for ever!: Car repair manuals for everyone.

A/C Condenser - Removal






REMOVAL

WARNING: Refer to the applicable warnings and cautions for this system before performing the following operation Warning and Caution . Failure to follow these instructions may result in serious or fatal injury.






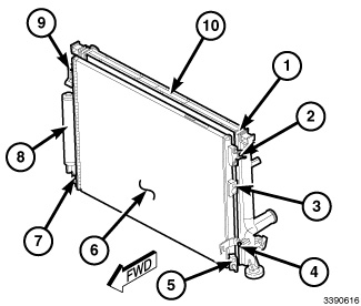
NOTE: Illustration shown with A/C condenser and radiator removed from vehicle for clarity.

1. Disconnect and isolate the negative battery cable.
2. Recover the refrigerant from the refrigerant system Refrigerant System Recovery.
3. Remove the front fascia Front Bumper Fascia - Removal.
4. Disconnect the automatic transmission cooler lines from the automatic transmission cooler ports (1) and install plugs in the cooler ports.
5. Disconnect the A/C discharge line and A/C liquid line from refrigerant line fittings (3 and 5) A/C Liquid Line - Removal and A/C Discharge Line - Removal.
6. Install plugs in, or tape over, the opened refrigerant line fittings and condenser ports.
7. Remove the four bolts (2, 4, 7 and 9) that secure A/C condenser (6) to the radiator (10).
8. Carefully tilt the bottom of the A/C condenser forward and lower the condenser out of the vehicle.
9. If required, place the A/C condenser onto a workbench and remove the A/C receiver/drier (8) A/C Receiver Drier - Removal.