Curiosii for ever!: Car repair manuals for everyone.

Transmitter - Export






TRANSMITTER





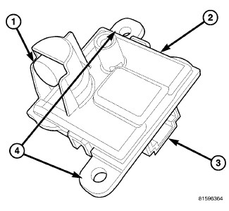
An intrusion sensor transmitter (2) is part of the premium version of the Vehicle Theft Security System (VTSS). The premium version of the VTSS is only available in vehicles built for certain markets, where the additional features offered by this system are required. This unit is designed to work in conjunction with the intrusion sensor receiver to provide interior motion detection inputs to the intrusion module, which serves as the interface between the Forward Control Module (FCM), the ElectroMechanical Instrument Cluster (EMIC), sometimes referred to as the Cab Compartment Node (CCN), and the alarm siren.

The transmitter is located in the passenger compartment, where it is concealed behind the right C-pillar. The trim bezel has a small round opening that faces the front of the vehicle through which the transducer is aimed. Concealed within the molded plastic transmitter housing is the circuitry of the transmitter which includes an ultrasonic transmit transducer (1).

The intrusion sensor transmitter cannot be adjusted or repaired and, if faulty or damaged, it must be replaced. The transmitter mounting bracket is serviced as a unit with the headliner. The transducer trim bezel is available for separate service replacement.