Curiosii for ever!: Car repair manuals for everyone.

Wireless Control Module (WCM)






U0019-CAN B BUS

For a complete wiring diagram, refer to the Wiring Information.

- When Monitored:
Continuously

- Set Condition:
Whenever the CAN B Bus (+) or CAN Bus (-) circuit is open, shorted to voltage or shorted to ground.





1. CHECK FOR ACTIVE DIAGNOSTIC TROUBLE CODE (DTC)s
1. With the scan tool, read the active DTCs.
2. Cycle the ignition switch from off to on at least five times, leaving the ignition on for a minimum of 90 seconds per cycle.
3. With the scan tool, read the active DTCs.

Does the scan tool display: U0019-CAN B BUS as active?

Yes

- Go To 2

No

- Test complete, the condition or conditions that originally set this DTC are not present at this time. Using the wiring diagrams as a guide, check all related splices and connectors for signs of water intrusion, corrosion, pushed out or bent terminals and poor pin fit.

2. CHECK TIPM DTCs
1. With the scan tool, read the TIPM active DTCs.

Does the scan tool display any CAN B BUS DTCs as Active?

Yes

- Testing and Inspection Perform the appropriate diagnostic procedure.

No

- Go To 3

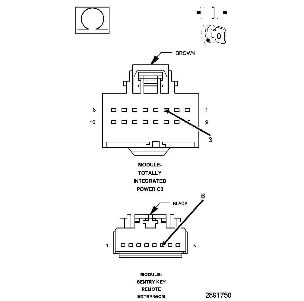
3. (D55) CAN B BUS (+) CIRCUIT OPEN




1. Turn the ignition off.
2. Disconnect the negative battery cable.
3. Disconnect the WCM (SKREEM) harness connector.
4. Disconnect the TIPM harness connector.
5. Measure the resistance of the (D55) CAN B Bus (+) circuit between the TIPM harness connector and the WCM harness connector.

Is the resistance below 2.0 Ohms?

Yes

- Go To 4

No

- Repair the open in the (D55) CAN B Bus (+) circuit.
- Perform the BODY VERIFICATION TEST. Body Verification Test.

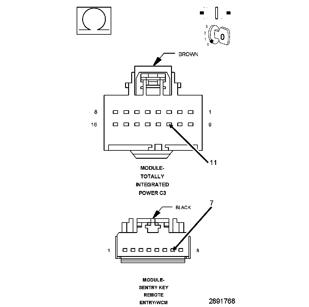
4. (D54) CAN B BUS (-) CIRCUIT OPEN




1. Measure the resistance of the (D54) CAN B Bus (-) circuit between the TIPM harness connector and the WCM harness connector.

Is the resistance below 2.0 Ohms?

Yes

- Replace the Wireless Control Module (WCM) (SKREEM). Sentry Key Immobilizer Module (SKREEM) - Removal.
- Perform the SKIS IDENTIFICATION TEST. Programming and Relearning.

No

- Repair the open in the (D54) CAN B Bus (-) circuit.
- Perform the BODY VERIFICATION TEST. Body Verification Test.