Curiosii for ever!: Car repair manuals for everyone.

Final Drive - Disassembly






DISASSEMBLY

Special Tools:










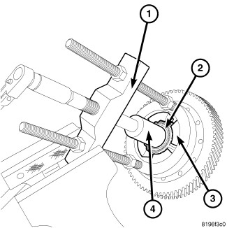
1. Use Puller Set (1), Adapters (2) and press plug remove the pinion side bearing cone (3).





2. Install Puller Set (1), Adapters (3), and Press Plug to remove the ring gear side bearing cone.










3. Remove ring gear-to-differential case bolts (4) and floating pinion shaft retainers (2).










4. Separate ring gear (2) from differential case (1).










5. Separate differential cover (1) from case (2) using suitable screwdrivers at position.










6. Lift support (1) from case (2).










7. Remove side gear thrust washer (1).










8. Remove side gear (1).










9. Remove pinion shaft (1).










10. Remove pinion gears (1) and tabbed washers (2)(Figure 10).










11. Remove differential side gear (1).










12. Remove side gear thrust washer (1).
13. Inspect all components for excessive wear.





14. Using Remover (1) and a 12mm hex head bolt as a press plug remove the small pinion bearing.





15. Using puller (1), Adapters (2) and Press Plug C4487-1 to remove the large pinion bearing.