Curiosii for ever!: Car repair manuals for everyone.

Part 2






ASSEMBLY

31. Using Snap Ring Pliers (1)(Figure 30), install transfer shaft bearing snap ring (2).










32. Install transfer shaft bearing cup into retainer (4)(Figure 31) using Installer (3).










33. Install bearing cup retainer (2) (Figure 32) to transaxle.










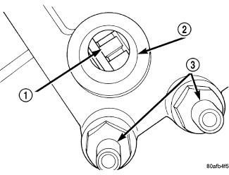
34. Install transfer gear bearing cone to transfer gear (4)(Figure 33) using Installer , (5) Handle and an Arbor Press.










35. TRANSFER GEAR BEARING ADJUSTMENT:
a. Install a 4.66 mm (0.184 in.) gauging shim (3)(Figure 34) on the transfer shaft.
b. Install transfer shaft gear using Installer. Using Holder , install transfer shaft gear retaining nut to 271 Nm (200 ft. lbs.).
c. Measure end play. Attach Gear Checking Plate L4432 to the transfer gear.
d. Mount a steel ball with grease into the end of the transfer shaft.
e. Push and pull the gear while rotating back and forth to ensure seating of the bearing rollers.
f. Using a Dial Indicator, measure transfer shaft end play.
g. Refer to the transfer shaft bearing shim chart for the required shim combination to obtain the proper bearing setting.
h. Use Holder to remove the retaining nut and washer. Remove the transfer shaft gear using Gear Puller.
i. Remove the gauging shim and install the proper shim indicated by the chart.
TRANSFER SHAFT BEARING SHIM CHART



















36. Install the transfer shaft gear (4)(Figure 35) using Installer (2).










CAUTION: Install a NEW retaining nut, as the original nut MUST NOT be reused.

37. Install the new retaining nut and washer.
38. Using Holder (4)(Figure 36), tighten transfer gear retaining nut to 271 Nm (200 ft. lbs.).










39. Measure transfer shaft end play. Transfer shaft end play should be within 0.05-0.10 mm (0.002-0.004 in.). If the end play is too high, install a 0.04 mm (0.0016 in.) thicker shim. If the end play is too low, install a 0.04 mm (0.0016 in.) thinner shim. Repeat until 0.05-0.10 mm (0.002-0.004 in.) end play is obtained.
40. Install a bead of Mopar(R) ATF RTV (MS-GF41) (2)(Figure 37) to transfer gear cover.










41. Install transfer gear cover-to-case bolts (1)(Figure 38) and torque to 20 Nm (175 in. lbs.) torque.










42. Install low/reverse clutch pack (1,2)(Figure 39). Leave uppermost disc out until snap ring is installed.










43. Install low/reverse reaction plate flat snap ring (2)(Figure 40).










44. Install remaining low/reverse clutch disc (1)(Figure 41).










45. Install low/reverse reaction plate with flat side up (1)(Figure 42).





46. Proper installation of snap ring (with tapered side up)(Figure 43).










47. Install tapered snap ring (with tapered side up)(Figure 44).










48. Set up Dial Indicator (1)(Figure 45) and Indicator (2) to measure low/reverse clutch clearance. Press down on clutch pack with finger and zero dial indicator. Low/Reverse clutch pack clearance is 0.89-1.47 mm (0.035-0.058 in.). Set up Indicator (1) and record measurement in four places. Take average of readings and select the proper low/reverse reaction plate to achieve specifications.

LOW/REVERSE REACTION PLATE CHART















49. Install 2/4 clutch pack (1,2)(Figure 46).

NOTE: The 2/4 Clutch Piston has bonded seals which are not individually serviceable. Seal replacement requires replacement of the piston assembly.











50. Orient 2/4 clutch return spring (2)(Figure 47) to retainer (1).










51. Install 2/4 clutch return spring (2)(Figure 48) into transaxle.










52. Using Compressor (1)(Figure 49), compress 2/4 clutch return spring just enough to install snap ring.
53. Install snap ring (3).










54. Set up Dial Indicator (1),(Figure 50) Indicator tip (3) and Hook tool (2), measure 2/4 clutch clearance. Press down on clutch pack with finger and zero dial indicator. 2/4 clutch pack clearance is 0.76-2.64 mm (0.030-0.104 in.). Set up indicator and record measurement in four places. Take average of readings. If clearance is outside this range, the clutch is assembled improperly. There is no adjustment for 2/4 clutch clearance.










55. Install rear sun gear and #7 needle bearing (1)(Figure 51).










NOTE: The number seven needle bearing (1)(Figure 52) has three anti-reversal tabs and is common with the number five and number two position. The orientation should allow the bearing to seat flat against the rear sun gear. A small amount of petrolatum can be used to hold the bearing to the rear sun gear.











56. Install front carrier/rear annulus assembly (2)(Figure 53) and #6 needle bearing (1).










57. Install front sun gear assembly (1)(Figure 54) and #4 thrust washer (2).










58. Select the thinnest #4 thrust plate thickness and install to input clutch assembly (1)(Figure 55). Use petrolatum to retain.










59. Install input clutch assembly into position and verify that it is completely seated by viewing through input speed sensor hole. View through input speed sensor hole (2)(Figure 56), if not as shown in picture, the input clutch assembly is not seated properly.










60. Remove oil pump O-ring (2)(Figure 57). Be sure to reinstall oil pump O-ring after selecting the proper #4 thrust plate.