Curiosii for ever!: Car repair manuals for everyone.

Procedures






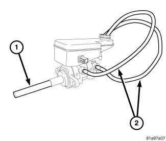
MASTER CYLINDER BLEEDING

Special Tools:










1. Clamp the master cylinder in a vise with soft-jaw caps.
2. Attach the special tools for bleeding the master cylinder in the following fashion:
a. Thread a Bleeder Tube (2), Special Tool , into the primary and secondary ports. Tighten bleeder tube nuts to 20 Nm (177 in. lbs.).
b. Flex each Bleeder Tube and place the open ends into the neck of the master cylinder reservoir. Position the open ends of the tubes into the reservoir so their outlets are below the surface of the brake fluid in the reservoir when filled.

NOTE: Make sure the ends of the Bleeder Tubes stay below the surface of the brake fluid in the reservoir at all times during the bleeding procedure.

3. Fill the brake fluid reservoir with fresh Mopar(R) Brake Fluid DOT 3 Motor Vehicle, or equivalent. [1][2]Brake Fluid
4. Using an appropriately sized wooden dowel as a pushrod, slowly press the pistons inward discharging brake fluid through the Bleeder Tubes, then release the pressure, allowing the pistons to return to the released position. Repeat this several times until all air bubbles are expelled from the master cylinder bore and Bleeder Tubes.
5. Remove the Bleeder Tubes from the master cylinder and plug the master cylinder outlet ports.
6. Install the fill cap on the reservoir.
7. Remove the master cylinder from the vise.
8. Install the master cylinder on the vehicle. Brake Master Cylinder - Installation