Curiosii for ever!: Car repair manuals for everyone.

Powertrain Control Module (PCM) - 62TE






P1775-SOLENOID SWITCH VALVE LATCHED IN TCC POSITION

Special Tools:










For a complete wiring diagram, refer to the Wiring Information.

Theory of Operation

The Solenoid Switch Valve, an internal, hydraulically operated valve, controls the direction of the transmission fluid when the L/R solenoid is energized. When the solenoid switch valve is in the downshifted position and the L/R solenoid is energized, fluid is directed to the L/R element for 1st gear. When the solenoid switch valve is In the up-shifted position (2nd, 3rd, and 4th gear) and the L/R solenoid is energized, fluid is directed into the Lockup Switch Valve which controls the Torque Converter Clutch. When shifting into 1st gear, a special sequence is followed to insure solenoid switch valve movement into the downshifted position. The L/R pressure switch is monitored to confirm switch valve movement. If the solenoid switch valve movement is not confirmed (i.e. no L/R pressure switch response when the L/R solenoid is energized), 2nd gear is substituted for 1st. No 1st gear (2nd gear is substituted). The transmission Torque converter FEMCC operation is inhibited. MIL on after five minutes of substituted operation.

- When Monitored:
Prior to a shift into 1st gear.

- Set Condition:
Transmission temperature must be hot. DTC is set after six unsuccessful attempts to shift into 1st gear.





Always perform the Pre-Diagnostic Troubleshooting procedure before proceeding. Pre-Diagnostic Troubleshooting Procedure.

1. DETERMINING IF RELATED DTCS ARE PRESENT
1. With the scan tool, check DTCs

Is the DTC P0841 present also?

Yes

- Testing and Inspection and perform the appropriate diagnostic procedure.

No

- Go To 2

2. CHECK TO SEE IF DTC P1775 IS CURRENT
1. With the scan tool, view DTCs.

Is the status Active or is the Starts Since Set counter 2 or less for this DTC?

Yes

- Go To 3

No

- Go To 9

3. PCM AND WIRING
1. Turn the ignition off to the lock position.
2. Remove the Ignition Switch Feed fuse from the TIPM.

CAUTION: Removal of the Ignition Switch Feed fuse from the TIPM will prevent the vehicle from being started in gear.

WARNING: The Ignition Switch Feed fuse must be removed from the TIPM. Failure to do so can result in possible serious or fatal injury.

3. Install the Transmission Simulator and the Electronic Transmission Adapter kit.
4. Ignition on, engine not running.
5. With the Transmission Simulator, turn the Pressure Switch selector switch to L/R.
6. With the scan tool, monitor the L/R Pressure Switch State while pressing the Pressure Switch Test button.

Did the Pressure Switch state change from open to closed when the test button was pressed?

Yes

- Go To 4

No

- Go To 5

4. INTERNAL TRANSMISSION

Repair

- Remove the valve body. Inspect the Solenoid Switch Valve and repair or replace as necessary. If no problems are found, replace the Transmission Solenoid/TRS Assembly.
- Perform the 62TE TRANSMISSION VERIFICATION TEST. 62TE Transmission Verification Test.

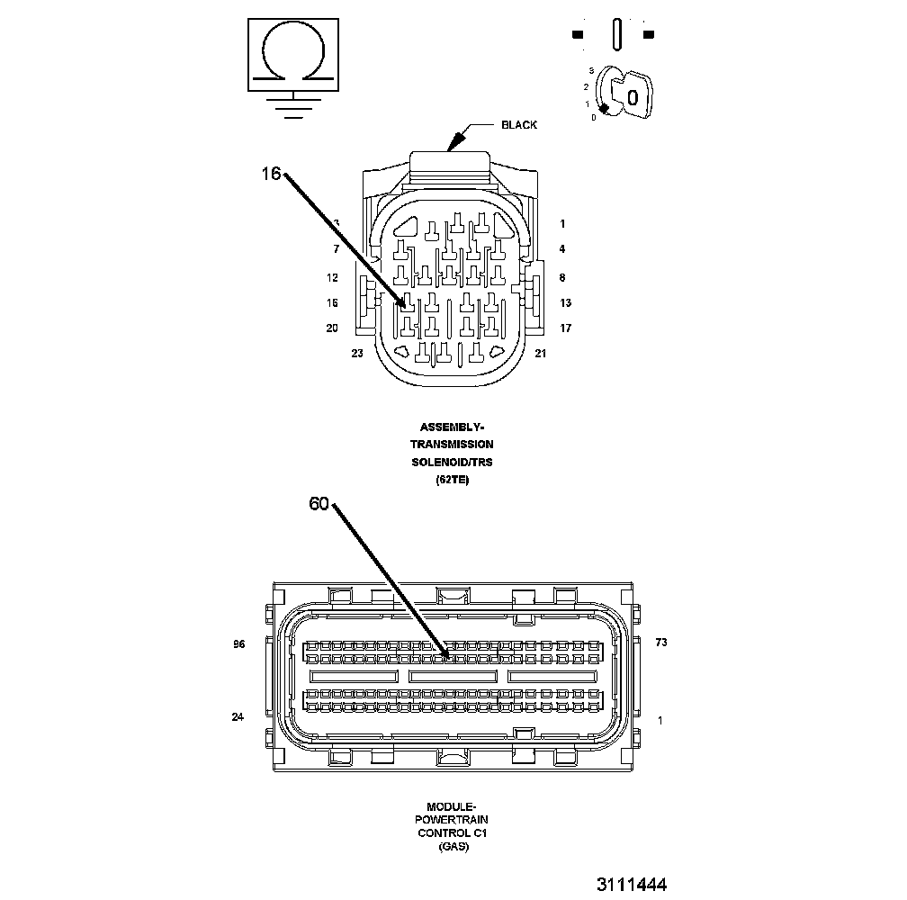
5. (T16) TRANSMISSION CONTROL OUTPUT CIRCUIT OPEN




1. Turn the ignition off to the lock position.
2. Disconnect the Transmission Solenoid/TRS Assembly harness connector.
3. Disconnect the PCM C1 harness connector.
4. Ignition on, engine not running.
5. With the scan tool in the TIPM, actuate the TCM output.
6. Using a 12-volt test light connected to ground, check all (T16) Transmission Control Output circuits in the appropriate terminals of the PCM C1 harness connector.

NOTE: The test light must illuminate brightly. Compare the brightness to that of a direct connection to the battery.

Does the test light illuminate brightly on all Transmission Control Relay Output circuits?

Yes

- Repair the (T16) Transmission Control Output circuit for an open.
- Perform the 62TE TRANSMISSION VERIFICATION TEST. 62TE Transmission Verification Test.

No

- Go To 6

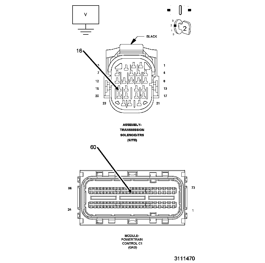
6. (T50) L/R PRESSURE SIGNAL CIRCUIT OPEN




1. Measure the resistance of the (T50) L/R Pressure Signal circuit from the appropriate terminal of the PCM C1 harness connector to the Transmission Solenoid/TRS Assembly harness connector.

Is the resistance above 5.0 Ohms?

Yes

- Repair the (T50) L/R Pressure Signal circuit for an open.
- Perform the 62TE TRANSMISSION VERIFICATION TEST. 62TE Transmission Verification Test.

No

- Go To 7

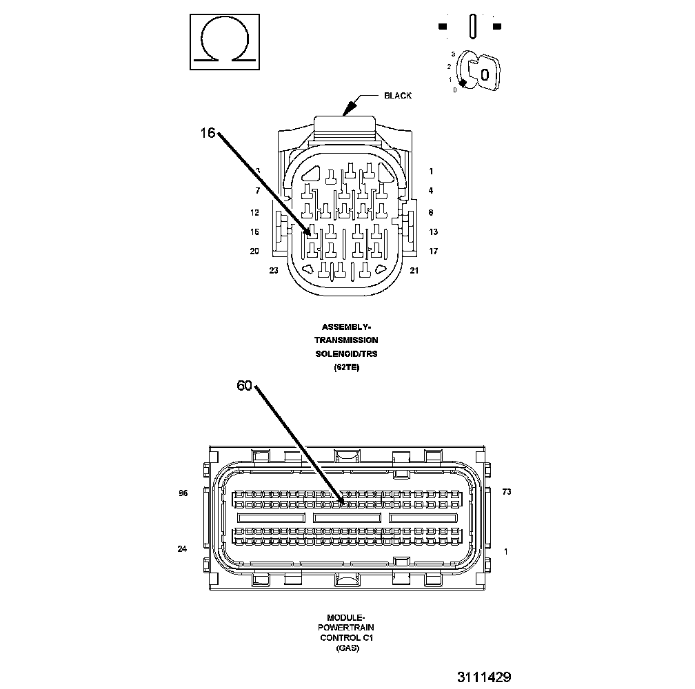
7. (T50) L/R PRESSURE SIGNAL CIRCUIT SHORTED TO GROUND




1. Measure the resistance between ground and the (T50) L/R Pressure Signal circuit.

Is the resistance below 5.0 Ohms?

Yes

- Repair the (T50) L/R Pressure Signal circuit for a short to ground.
- Perform the 62TE TRANSMISSION VERIFICATION TEST. 62TE Transmission Verification Test.

No

- Go To 8

8. (T50) L/R PRESSURE SIGNAL CIRCUIT SHORTED TO VOLTAGE




1. Ignition on, engine not running.
2. While still actuating the TCM output in the TIPM with the scan tool, measure the voltage of the (T50) L/R Pressure Signal circuit.

Is the voltage above 0.5 of a volt?

Yes

- Repair the (T50) L/R Pressure Signal circuit for a short to voltage.
- Perform the 62TE TRANSMISSION VERIFICATION TEST. 62TE Transmission Verification Test.

No

- Using the schematics as a guide, inspect the wiring and connectors. Repair as necessary. Pay particular attention to all power and ground circuits. Replace and program the Powertrain Control Module. With the scan tool perform Quick Learn.
- Perform the 62TE TRANSMISSION VERIFICATION TEST. 62TE Transmission Verification Test.

9. CHECK THE WIRING AND CONNECTORS
1. The conditions necessary to set this DTC are not present at this time.
2. Test drive and verify if the transmission is launching in 2nd gear and/or no TCC engagement.
3. With the scan tool, check the Event Data to help identify the conditions in which the DTC was set.

Are there 2nd gear launches and/or no TCC engagement?

Yes

- Disassemble and inspect the Valve Body and repair or replace as necessary. If no problems are found in the Valve Body, replace the Transmission Solenoid Pressure Switch Assembly.
- Perform the 62TE TRANSMISSION VERIFICATION TEST. 62TE Transmission Verification Test.

No

- Test Complete.