Curiosii for ever!: Car repair manuals for everyone.

Powertrain Control Module (PCM) - 40TE - GPEC






P0888-TRANSMISSION RELAY ALWAYS OFF





For a complete wiring diagram, refer to the Wiring Information.

Theory of Operation

The Transmission Control Output circuit is used to supply power to the Powertrain Control Module (PCM), Transmission Solenoid/Pressure Switch Assembly, Transmission Range Sensor (TRS) and the Line Pressure Sensor/Variable Force Solenoid when in normal operating mode. The purpose of the Transmission Output circuit is to allow the Transmission Control System to turn off the power to these components in the event that the transmission should need to be placed into "limp-in" mode due to a DTC.

After a PCM reset, (ignition switch turned to the run position, or after cranking the engine) the Transmission Control System verifies that the Transmission Output circuit is open by checking for voltage on the Transmission Output circuits before the Transmission Control System request for the circuit to be powered up. The request is sent by a direct circuit control from the PCM to the TIPM. If the Transmission Control System detects less that 3.0 volts when the output is commanded on, the DTC will set. Note: Inadequate Transmission Control Output voltage can also cause DTCs P0846, or P0871, to set. This does not indicate an internal transmission or solenoid/TRS problem. Repairing the P0882 fault should also eliminate the related DTCs.

- When Monitored:
When the ignition is turned from "OFF" position to "RUN" position and/or the ignition is turned from "START" position to "RUN" position.

- Set Condition:
This DTC is set when there is less than 3.0 volts present at the transmission control output circuits located in the Powertrain Control Module (PCM) when the Transmission Control System requests the power up of those circuits.





Always perform the 40/41TE Pre-Diagnostic Troubleshooting procedure before proceeding. Pre-Diagnostic Troubleshooting Procedure.

1. CHECK IF THE DTC P0888 IS CURRENT
1. With the scan tool, Check the Starts Since Set counter for P0888.

NOTE: This counter only applies to the last DTC set.

Is the Starts Since Set counter equal to 0?

Yes

- Go To 2

No

- Go To 5

2. CHECK FOR TIPM RELATED DTCS
1. With the scan tool, check TIPM DTCs.

Are there any TCM Power Control Circuit DTCS present under TIPM?

Yes

- Testing and Inspection and perform the appropriate diagnostic procedure.

No

- Go To 3

3. CHECK THE (T15) TRANSMISSION CONTROL CIRCUIT FOR A SHORT TO GROUND




1. Turn the ignition off to the lock position.
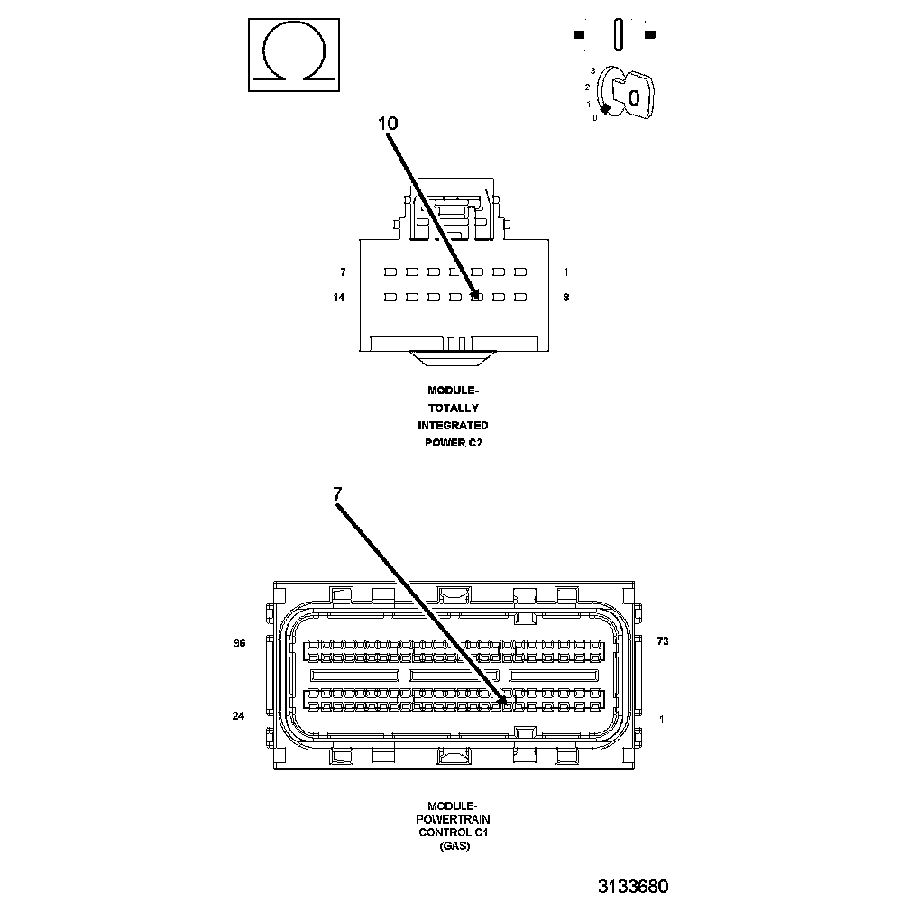
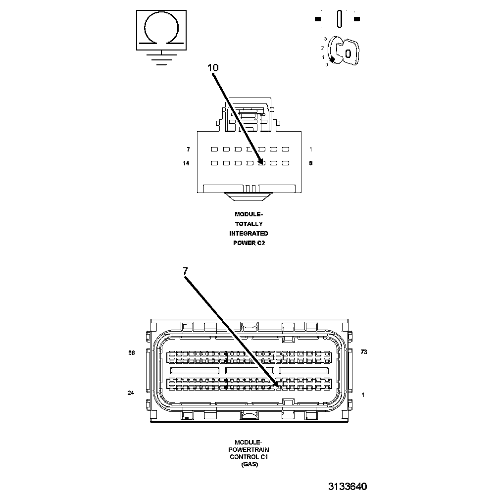
2. Disconnect the PCM C1 harness connector.
3. Disconnect the TIPM C2 harness connector.
4. Measure the resistance between ground and the (T15) Transmission Control circuit.

Is the resistance below 5.0 Ohms?

Yes

- Repair the (T15) Transmission Control circuit for a short to ground.
- Perform the 40/41TE TRANSMISSION VERIFICATION TEST. 40/41TE Transmission Verification Test

No

- Go To 4

4. CHECK THE (T15) TRANSMISSION CONTROL CIRCUIT FOR AN OPEN




1. Measure the resistance of the (T15) Transmission Control circuit between the PCM C1 harness connector and the TIPM C2 harness connector.

Is the resistance above 5.0 Ohms?

Yes

- Repair the (T15) Transmission Control circuit for an open.
- Perform the 40/41TE TRANSMISSION VERIFICATION TEST. 40/41TE Transmission Verification Test.

No

- Using the schematics as a guide, check the Powertrain Control Module (PCM) terminals for corrosion, damage, or terminal push out. Pay particular attention to all power and ground circuits. If no problems are found, replace and program the PCM. With the scan tool, perform Quick Learn.
- Perform the 40/41TE TRANSMISSION VERIFICATION TEST. 40/41TE Transmission Verification Test.

5. CHECK THE WIRING AND CONNECTORS
1. The conditions necessary to set this DTC are not present at this time.
2. Using the schematics as a guide, inspect the wiring and connectors specific to this circuit.
3. Wiggle the wires while checking for shorted and open circuits.
4. With the scan tool, check the Event Data to help identify the conditions in which the DTC was set.

Where there any problems found?

Yes

- Repair as necessary.
- Perform the 40/41TE TRANSMISSION VERIFICATION TEST. 40/41TE Transmission Verification Test.

No

- Test Complete.