Curiosii for ever!: Car repair manuals for everyone.

Powertrain Control Module (PCM) - 40TE - GPEC






P0765-UD SOLENOID CIRCUIT

Special Tools:










For a complete wiring diagram, refer to the Wiring Information.

Theory of Operation

Four solenoids are used to control the friction elements (clutches). The continuity of the solenoid circuits is periodically tested. Each solenoid is turned on or off depending on its current state. An inductive spike should be detected by the PCM during this test. If no spike is detected, the circuit is tested again to verify the failure. In addition to the periodic testing, the solenoid circuits are tested if a gear ratio or pressure switch error occurs. In this case, one failure will result in the appropriate DTC being set. The MIL will illuminate and the transmission goes into neutral, if the DTC is set above 35 Km/h (22 mph), Limp-in mode when vehicle speed is below 35 Km/h (22 mph).

- When Monitored:
Initially at ignition on, then every 10 seconds thereafter. The solenoids will also be tested immediately after a gear ratio error or pressure switch error is detected.

- Set Condition:
Three consecutive solenoid continuity test failures, or one failure if test is run in response to a gear ratio or pressure switch error.





Always perform the 40/41TE Pre-Diagnostic Troubleshooting procedure before proceeding. Pre-Diagnostic Troubleshooting Procedure.

1. CHECK FOR RELATED DTCS
1. With the scan tool, read DTCs

Are there any Transmission Control Relay or TCM Power Input DTCs present also?

Yes

- Testing and Inspection and perform the appropriate diagnostic procedure.

No

- Go To 2

2. CHECK IF THE DTC IS CURRENT
1. With the scan tool, read DTCs.

Is the status Active or is the Starts Since Set counter set at 0 for this DTC?

Yes

- Go To 3

No

- Go To 7

3. CHECK THE PCM AND WIRING USING THE TRANSMISSION SIMULATOR
1. Turn the ignition off to the lock position.
2. Remove the Ignition Switch Feed fuse from the TIPM.

CAUTION: Removal of the Ignition Switch Feed fuse from the TIPM will prevent the vehicle from being started in gear.

WARNING: The Ignition Switch Feed fuse must be removed from the TIPM. Failure to do so can result in possible serious or fatal injury.

3. Install the Transmission Simulator and the Electronic Transmission Adapter kit.
4. Ignition on, engine not running.
5. With the scan tool, actuate the UD Solenoid.
6. Monitor the UD Solenoid LED on the Transmission Simulator.

Did the UD Solenoid LED on the Transmission Simulator blink on and off during actuation?

Yes

- Replace Transmission Solenoid/Pressure Switch Assembly.
- Perform the 40/41TE TRANSMISSION VERIFICATION TEST. 40/41TE Transmission Verification Test.

No

- Go To 4

4. CHECK THE (T59) UD CONTROL CIRCUIT FOR AN OPEN




1. Turn the ignition off to the lock position.
2. Disconnect the PCM C1 harness connector.
3. Disconnect the Transmission Simulator and the Electronic Transmission Adapter kit.
4. Measure the resistance of the (T59) UD Control circuit between the PCM C1 harness connector and the Solenoid/Pressure Switch Assembly harness connector.

Is the resistance above 5.0 Ohms?

Yes

- Repair the (T59) UD Control circuit for an open.
- Perform the 40/41TE TRANSMISSION VERIFICATION TEST. 40/41TE Transmission Verification Test.

No

- Go To 5

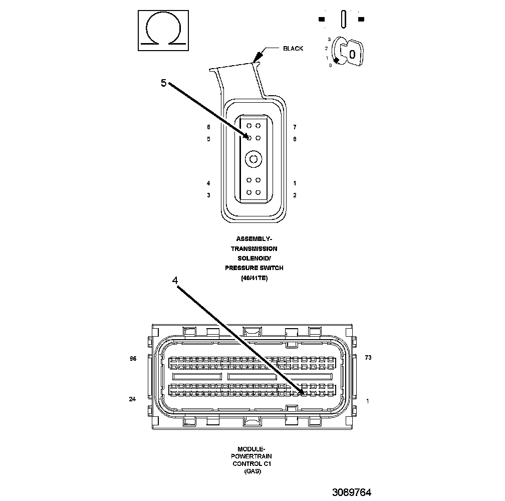
5. CHECK THE (T59) UD CONTROL CIRCUIT FOR A SHORT TO GROUND




1. Measure the resistance between ground and the (T59) UD Control circuit.

Is the resistance below 5.0 Ohms?

Yes

- Repair the (T59) UD Control circuit for a short to ground.
- Perform the 40/41TE TRANSMISSION VERIFICATION TEST. 40/41TE Transmission Verification Test.

No

- Go To 6

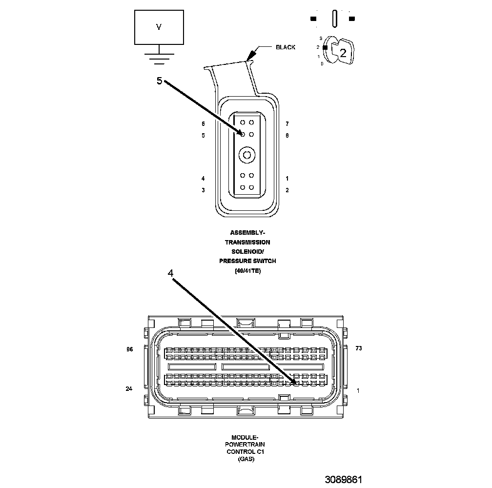
6. CHECK THE (T59) UD CONTROL CIRCUIT FOR A SHORT TO VOLTAGE




1. Ignition on, engine not running.
2. With the scan tool in the TIPM, actuate the TCM output.
3. Measure the voltage of the (T59) UD Control circuit.

Is the voltage above 0.5 of a volt?

Yes

- Repair the (T59) UD Control circuit for a short to voltage.
- Perform the 40/41TE TRANSMISSION VERIFICATION TEST. 40/41TE Transmission Verification Test.

No

- Using the schematics as a guide, check the Powertrain Control Module (PCM) terminals for corrosion, damage, or terminal push out. Pay particular attention to all power and ground circuits. Check for Service Information Tune-ups or Service Bulletins for any possible causes that may apply. If no problems are found, replace and program the PCM. With the scan tool, perform Quick Learn.
- Perform the 40/41TE TRANSMISSION VERIFICATION TEST. 40/41TE Transmission Verification Test.

7. CHECK THE WIRING AND CONNECTORS
1. The conditions necessary to set the DTC are not present at this time.
2. Using the schematics as a guide, inspect the wiring and connectors specific to this circuit.
3. Wiggle the wires while checking for shorted and open circuits.
4. With the scan tool, check the Event Data to help identify the conditions in which the DTC was set.

Were there any problems found?

Yes

- Repair as necessary.
- Perform the 40/41TE TRANSMISSION VERIFICATION TEST. 40/41TE Transmission Verification Test.

No

- Test Complete.