Curiosii for ever!: Car repair manuals for everyone.

Component Tests and General Diagnostics






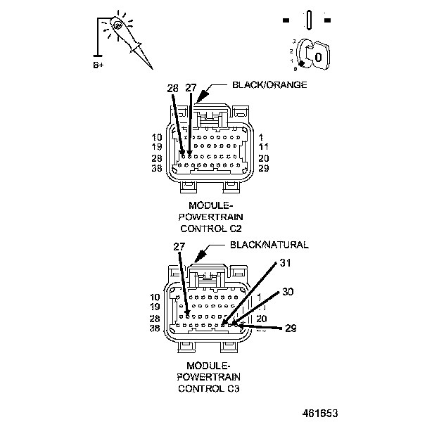
CHECKING THE PCM POWER AND GROUND CIRCUITS





For a complete wiring diagram refer to the Wiring Information .

1. PCM WIRING OR CONNECTORS
1. Turn the ignition off.
2. Using the wiring diagram/schematic as a guide, inspect the wiring and each connector at the PCM.
3. Look for any chafed, pierced, pinched, or partially broken wires.
4. Look for broken, bent, pushed out or corroded terminals.

Were any problems found?

Yes

- Repair as necessary.
- Perform the PCM Verification Test.PCM Verification Test

No

- Go to 2

2. CHECKING THE PCM GROUND CIRCUITS




1. Turn the ignition off.
2. Using a 12 volt test light connected to 12 volts, check the PCM ground circuits.
3. Wiggle test each circuit during the test to check for an intermittent open circuit.

NOTE: The test light should be illuminated and bright. Compare the brightness to that of a direct connection to the battery.

Is the test light illuminated and bright?

Yes

- Go to 3.

No

- Repair the PCM ground circuit(s) for an open circuit or high resistance.
- Perform the PCM Verification Test.PCM Verification Test

3. CHECKING THE PCM POWER SUPPLY CIRCUITS




1. Using a 12 volt test light connected to ground, check the PCM power supply circuits.
2. Wiggle test each circuit during the test to check for an intermittent open circuit.

NOTE: The test light should be illuminated and bright. Compare the brightness to that of a direct connection to the battery.

Is the test light illuminated and bright?

Yes

- Go to 4.

No

- Repair the PCM power supply circuit(s) for an open circuit or high resistance.
- Perform the PCM Verification Test.PCM Verification Test

4. CHECKING THE PCM FUSED IGNITION SWITCH CIRCUITS




1. Turn the ignition on.
2. Using a 12 volt test light connected to ground, check the PCM Fused Ignition Switch circuits.
3. Check each circuit with the ignition on, engine not running position, and during cranking.
4. Wiggle test each circuit during the test to check for an intermittent open circuit.

NOTE: The test light should be illuminated and bright. Compare the brightness to that of a direct connection to the battery.

Is the test light illuminated and bright?

Yes

- Test complete.

No

- Repair the PCM Fused Ignition Switch circuit(s) for an open circuit or high resistance.
- Perform the PCM Verification Test.PCM Verification Test